Вопрос по интересной СО, Лениградка в полипропелене, Работоспособна ли такая СО? |
|
|
|
|
15.7.2016, 18:20
|
Группа: New
Сообщений: 15
Регистрация: 28.3.2011
Пользователь №: 100596

|
Вопрос к спецам! Возможно ли как-то кольца увязать? Как-то усовершенствовать, стояки со второго этажа до отвода на прибор 1 этажа уменьшить диаметр стояка, и(или) вентиль регулировочный воткнуть? Спасибо! Всего доброго...
Сообщение отредактировал Olega029 - 15.7.2016, 18:23
Эскизы прикрепленных изображений
|
|
|
|
|
|
|
 |
Ответов
(1 - 12)
|
|
16.7.2016, 11:01
|
Группа: Участники форума
Сообщений: 39
Регистрация: 23.4.2016
Пользователь №: 295792

|
Olega029, не понятно, чем обусловлен выбор такой гибридной схемы, помеси двухтрубной и однотрубной? Мне кажется, что хоть для гравитационной циркуляции, хоть для принудительной циркуляции такая схема нерациональна. Подозреваю, что если сбалансировать двухтрубные кольца, то однотрубные практически перестанут работать из-за низкой скорости теплоносителя в верхней магистрали. Какие радиаторы будут использованы с учётом подключения "низ-низ"? Вообще непонятно, что всем это "низ-низ" так нравится, ведь неправильно же!
Т.е. непонятно, как совместить несовместимое. Ведь для ОП в двухтрубном кольце нужно сделать дельту 10-20 градусов. А для ОП в однотрубном кольце дельту нужно делать чем меньше - тем лучше, т.е. 1-5 градуса.
СтоИт задача сделать систему с гравитационной циркуляцией? Или заказчик желает сэкономить на балансировочной арматуре? Исходя из этих условий и сделал бы выбор схемы.
Какой график системы должен быть? 95/70, 80/60 или какой? Какой котел или источник тепла?
|
|
|
|
|
|
|
|
18.7.2016, 9:08
|
Группа: New
Сообщений: 15
Регистрация: 28.3.2011
Пользователь №: 100596

|
Цитата(Отопление @ 16.7.2016, 11:01)  чем обусловлен выбор такой гибридной схемы, помеси двухтрубной и однотрубной? Раньше была такая в металле. Цитата(Отопление @ 16.7.2016, 11:01)  Какие радиаторы будут использованы с учётом подключения "низ-низ"? чугунные МС-140-500 Источник централизованное теплоснабжение, котельная на дровах, с t графиком 80/60.
Сообщение отредактировал Olega029 - 18.7.2016, 9:09
|
|
|
|
|
|
|
|
18.7.2016, 10:24
|
Группа: New
Сообщений: 15
Регистрация: 28.3.2011
Пользователь №: 100596

|
А как Вам так?, в однотрубную.
Эскизы прикрепленных изображений
|
|
|
|
|
|
|
|
18.7.2016, 10:57
|
Группа: Участники форума
Сообщений: 39
Регистрация: 23.4.2016
Пользователь №: 295792

|
Цитата(Olega029 @ 18.7.2016, 10:24)  А как Вам так?, в однотрубную. Не стал бы делать смесь однотрубной и двухтрубной. Что-то одно нужно выбрать. Да и пока не ответили на вопросы, непонятно что будет предпочтительнее. И добавочные вопросы: 1. Так у Вас ЦО или автономный ТТкотел? Или и то и другое? Если ЦО, то какой элеватор или ИТП, какой располагаемый напор? Если автономка с ТТкотлом, то нужно уже считать гравитационку. Если и ЦО и ТТкотел, то вообще третий вариант. В третьем варианте требуется ли одновременная работа ЦО и автономного ТТкотла? Требуется ли учет потребляемого тепла? 2. Если нужна гравитационка, то можно ли сделать верхнее расположение розлива? Уровень расположения котла какой? 3. Какие трубы предполагаются? Цитата(Olega029 @ 18.7.2016, 9:08)  Раньше была такая в металле. Мало ли что раньше было. Сейчас может потребоваться другое. Может трубы будут медные или ППр или стальные ВГП нужно исходить из исходных условий, т.е. ТЗ. А ТЗ Вы не озвучили. Цитата(Olega029 @ 18.7.2016, 9:08)  чугунные МС-140-500 Все равно лучше подключать "сверху-вниз". Нафига "ленинградка"? Цитата(Olega029 @ 18.7.2016, 9:08)  Источник централизованное теплоснабжение, котельная на дровах, с t графиком 80/60. Непонятно. Бывает или ЦО или своя автономная котельная на дровах (но опять же не с графиком 80/60).
Сообщение отредактировал Отопление - 18.7.2016, 10:52
|
|
|
|
|
|
|
|
18.7.2016, 11:49
|
Группа: New
Сообщений: 15
Регистрация: 28.3.2011
Пользователь №: 100596

|
Цитата(Отопление @ 18.7.2016, 10:57)  1. Так у Вас ЦО или автономный ТТкотел? Или и то и другое? Если ЦО, то какой элеватор или ИТП, какой располагаемый напор? Если автономка с ТТкотлом, то нужно уже считать гравитационку. Если и ЦО и ТТкотел, то вообще третий вариант. В третьем варианте требуется ли одновременная работа ЦО и автономного ТТкотла? Требуется ли учет потребляемого тепла? ЦО, автономки никакой нет, присоединение прямое, без элеватора и без учета т. располагаемый напор P1=31 м.вод.ст. P2=30 м.вод.ст., СО водяная, в проекте назвали "поточная"  . Цитата(Отопление @ 18.7.2016, 10:57)  3. Какие трубы предполагаются? Трубы PP-ALUX Py25 VALTEC армированная алюм. (по 4м) VTp.700.AL25.40. ГОСТ 32415-2013.
|
|
|
|
|
|
|
|
18.7.2016, 13:17
|
Группа: Участники форума
Сообщений: 39
Регистрация: 23.4.2016
Пользователь №: 295792

|
Цитата(Olega029 @ 18.7.2016, 11:49)  ЦО, автономки никакой нет, присоединение прямое, без элеватора и без учета т. располагаемый напор P1=31 м.вод.ст. P2=30 м.вод.ст., СО водяная, в проекте назвали "поточная"  . Тогда, раз имеется располагаемый напор в пределах 9 м.в.с, тогда, думается, нет смысла в однотрубке. Можно сделать двухтрубку либо вертикальную, либо горизонтальную. И можно с термоклапанами и термоголовками по желанию (и финансовой состоятельности) заказчика. Остался вопрос, насколько заказчик хочет сэкономить на балансировочной арматуре? Ведь можно и без арматуры увязать кольца дросселированием. Цитата(Olega029 @ 18.7.2016, 11:49)  Трубы PP-ALUX Py25 VALTEC армированная алюм. (по 4м) VTp.700.AL25.40. ГОСТ 32415-2013. Немного горячевато для ППр график 80/60 (моё субъективное мнение, основывающееся на данных срока службы ППр труб от производителей ППр труб). Но можно, чтобы не снижать срок службы ППр труб, рассчитать график системы на холодную пятидневку 75/60 или 70/55 ( если 70/50 - вообще легко) и поставить на входе насосносмесительный узел. Короче, нужно ТЗ.
|
|
|
|
|
|
|
|
18.7.2016, 14:24
|
Группа: New
Сообщений: 15
Регистрация: 28.3.2011
Пользователь №: 100596

|
Цитата(Отопление @ 18.7.2016, 13:17)  Но можно, чтобы не снижать срок службы ППр труб, рассчитать график системы на холодную пятидневку 75/60 или 70/55 ( если 70/50 - вообще легко) и поставить на входе насосносмесительный узел.
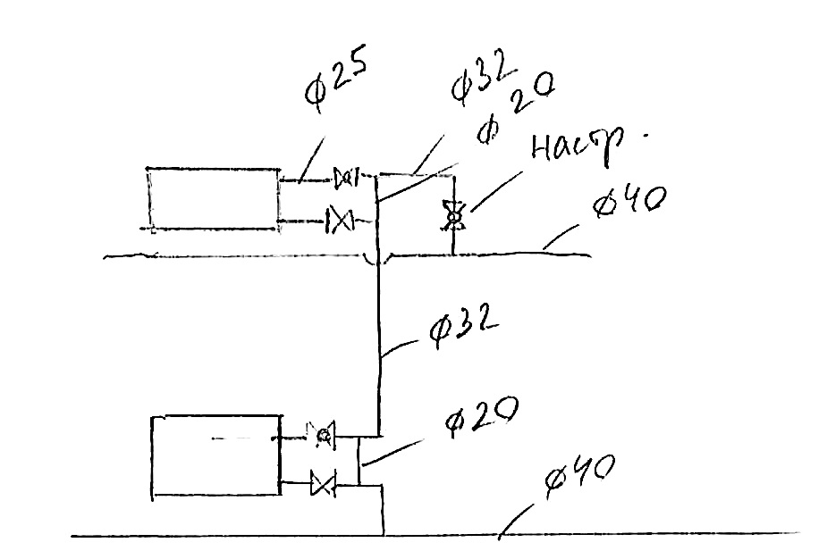
Короче, нужно ТЗ. Цель: сделать ремонт максимально бюджетно и не сделать хуже, относительно как было. А было также только в металле, но диаметры на один типоразмер были меньше. Термоголовки это шик, в плане просто вентили. срок службы при такой эксплуатации достаточно велик
Сообщение отредактировал Olega029 - 18.7.2016, 14:26
Эскизы прикрепленных изображений
|
|
|
|
|
|
|
|
18.7.2016, 14:49
|
Группа: Участники форума
Сообщений: 760
Регистрация: 26.3.2013
Из: Киев
Пользователь №: 186866

|
А почему не хотите сделать 2 или 4 ветки и балансировать их? Обычными шайбами можно было бы.
|
|
|
|
|
|
|
|
18.7.2016, 15:22
|
Группа: New
Сообщений: 15
Регистрация: 28.3.2011
Пользователь №: 100596

|
Цитата(MC-Anvil @ 18.7.2016, 14:49)  А почему не хотите сделать 2 или 4 ветки и балансировать их? Обычными шайбами можно было бы. Это как? буду признателен если как то со схемой или подробнее.
Сообщение отредактировал Olega029 - 18.7.2016, 15:23
|
|
|
|
|
|
|
|
18.7.2016, 15:26
|
Группа: Участники форума
Сообщений: 2660
Регистрация: 20.3.2005
Пользователь №: 570

|
Цитата Тогда, раз имеется располагаемый напор в пределах 9 м.в.с где ж там 9 м то ? 31-30=1 м! Полипропилен на ЦО - самоубийство, будь он трижды армированный и пр. График в ЦО может просто местами не выдерживаться и быть выше допустимой температуры применения для ПП-труб.
|
|
|
|
|
|
|
|
18.7.2016, 16:32
|
Группа: New
Сообщений: 15
Регистрация: 28.3.2011
Пользователь №: 100596

|
Цитата(Wiz @ 18.7.2016, 15:26)  где ж там 9 м то ? 31-30=1 м! Полипропилен на ЦО - самоубийство, будь он трижды армированный и пр. График в ЦО может просто местами не выдерживаться и быть выше допустимой температуры применения для ПП-труб. У нас зачастую в многоквартирных домах жильцы самостоятельно меняют на ПП, несмотря на то, что элеватор и в т.сети 150/70 С. А тут, на выходе из котельной в самые минуса, выше 75С не будет.
|
|
|
|
|
|
|
|
19.7.2016, 13:24
|
Группа: Участники форума
Сообщений: 39
Регистрация: 23.4.2016
Пользователь №: 295792

|
Цитата(Wiz @ 18.7.2016, 15:26)  где ж там 9 м то ? 31-30=1 м! Надо же было так смешно ошибиться! Извиняюсь! При таком располагаемом напоре, видимо нужно делать уже почти гравитационку (ЕЦ). И вероятно с верхним розливом. И с двумя или четырьмя контурами (ветками). Такая система и напор не требует и самобалансируется по кольцам. Типа такой -
|
|
|
|
|
|
|
  |
1 чел. читают эту тему (гостей: 1, скрытых пользователей: 0)
Пользователей: 0
|
|
Реклама
ООО «Арктика групп» ИНН: 7713634274 | erid 2VtzqvpbUMg
ООО «УНИСПЛИТ» ИНН: 6453155081 erid:2VtzqxNcYBM
Реклама: ООО «СЛ-ЛАЗЕР» ИНН 7727447267 | erid: 2VtzqvEDgM7

Реклама: ООО «Зет-Логист» ИНН 5401982392 | erid: 2Vtzqw44UH9
Последние сообщения Форума
|