Реклама / ООО «ИЗОЛПРОЕКТ» / ИНН: 7725566484 | ERID: 2VtzqvfExCR
IPB IPB
Проектирование, монтаж, наладка, сервис


Здравствуйте, гость ( Вход | Регистрация )

- Стандарт НП «АВОК» 7.12-2025
«Рекомендации по проектированию инженерных систем
общеобразовательных организаций»

АВОК в соц. сетях
ИНН: 7714824045 | erid: 2Vtzqvh9Ati
 
Добавить ответ в эту темуОткрыть тему
> Гидрозатвор
Kl_23
сообщение 31.5.2020, 15:57
Сообщение #1





Группа: New
Сообщений: 4
Регистрация: 27.5.2020
Пользователь №: 377644



Добрый вечер, вопрос, может быть, глупый, но мне очень нужна помощь. Зачем ставить гидрозатвор под теплообменником, который работает в режиме обратного стока конденсата в реактор??? Буду очень благодарна за понятный ответ. Заранее спасибо
Вернуться в начало страницы
 
+Ответить с цитированием данного сообщения
Галиев
сообщение 1.6.2020, 16:40
Сообщение #2





Группа: Участники форума
Сообщений: 4292
Регистрация: 10.1.2011
Из: г.Саранск
Пользователь №: 88830



А реактор работает по прямоточному циклу, или с возвратно-петлевой продувкой?
Вернуться в начало страницы
 
+Ответить с цитированием данного сообщения
tiptop
сообщение 1.6.2020, 18:03
Сообщение #3


сам себе Sapiens


Группа: Участники форума
Сообщений: 11390
Регистрация: 21.5.2005
Из: г. Владимир
Пользователь №: 797



Цитата(Kl_23 @ 31.5.2020, 15:57) *
Зачем ставить гидрозатвор под теплообменником

Наверное, чтобы не ставить конденсатоотводчик? unsure.gif


Цитата(Галиев @ 1.6.2020, 16:40) *
А реактор работает по прямоточному циклу, или с возвратно-петлевой продувкой?

Какие ещё есть варианты? blink.gif
Вернуться в начало страницы
 
+Ответить с цитированием данного сообщения
Kl_23
сообщение 3.6.2020, 23:39
Сообщение #4





Группа: New
Сообщений: 4
Регистрация: 27.5.2020
Пользователь №: 377644



Обычный реактор, в котором осуществляется химическая реакция
Есть предположение, что гидрозатвор нужен для того, чтобы взрывоопасные пары испаряющейся жидкости не поступали в атмосферу через воздушку, где работает персонал. А поступали в гидрозатвор, где они растворяются в воде, тем сам обеспечивая более безопасные условия для работы.
Не знаю на сколько этот вариант правильный. Буду рада любым комментариям
Вернуться в начало страницы
 
+Ответить с цитированием данного сообщения
T-rex
сообщение 4.6.2020, 11:46
Сообщение #5





Группа: Участники форума
Сообщений: 1688
Регистрация: 15.9.2012
Пользователь №: 163378



Схему приложите, авось будет больше комментариев.
Вернуться в начало страницы
 
+Ответить с цитированием данного сообщения
Kl_23
сообщение 4.6.2020, 16:58
Сообщение #6





Группа: New
Сообщений: 4
Регистрация: 27.5.2020
Пользователь №: 377644



Прикрепленное изображение
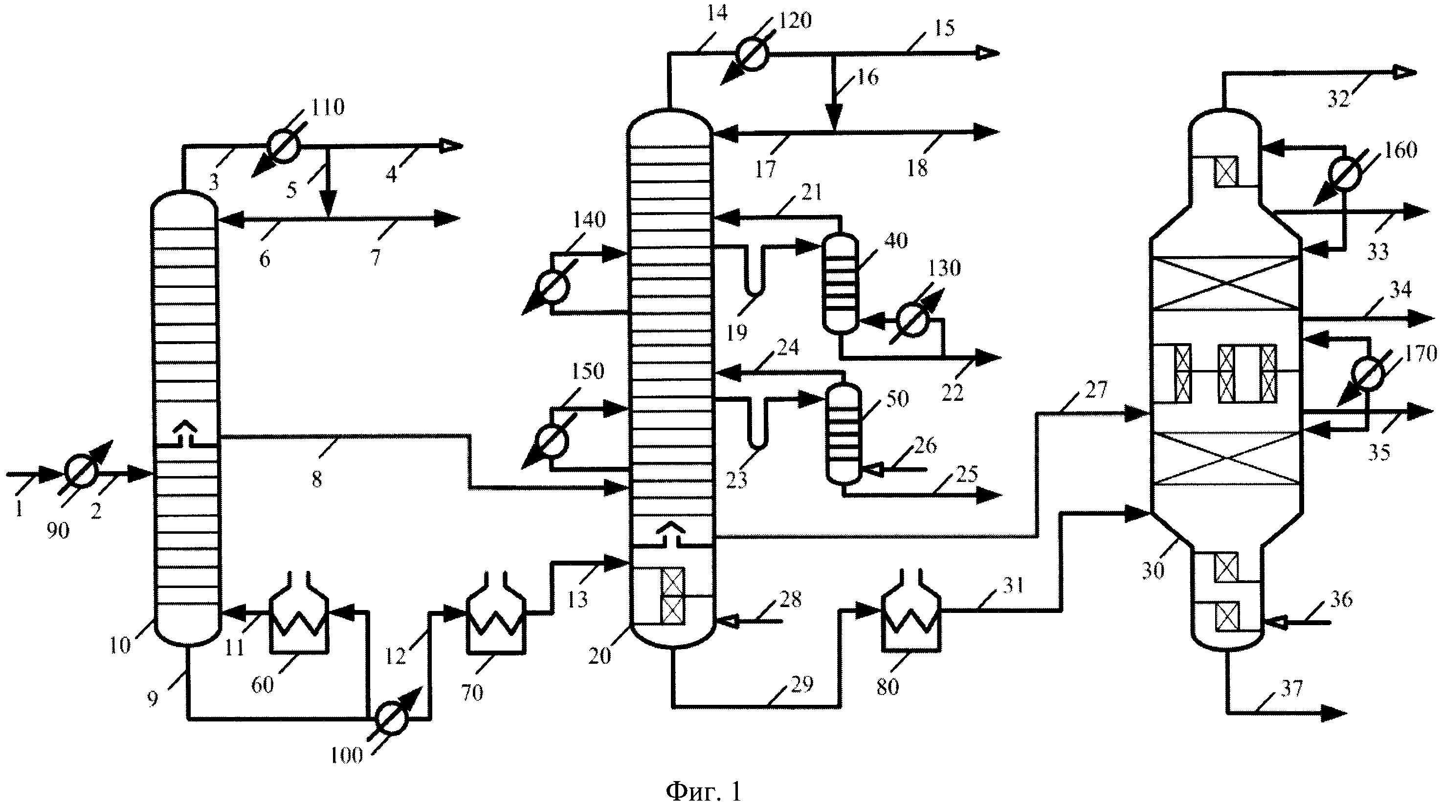
Примерно так

Сообщение отредактировал Kl_23 - 4.6.2020, 17:01
Вернуться в начало страницы
 
+Ответить с цитированием данного сообщения
Галиев
сообщение 4.6.2020, 17:25
Сообщение #7





Группа: Участники форума
Сообщений: 4292
Регистрация: 10.1.2011
Из: г.Саранск
Пользователь №: 88830



Цитата(Kl_23 @ 4.6.2020, 16:58) *
Примерно так

К этой схеме нужны комментарии. Т.е. 100% описАние всех движений сред по трубам, что за установки, что за гребенка на крышке Р34 в которую собраны линии от МВ и Т32 (что они это есть?) и еще уголь и спирт (м-м-м) blink.gif
Вернуться в начало страницы
 
+Ответить с цитированием данного сообщения
T-rex
сообщение 4.6.2020, 20:28
Сообщение #8





Группа: Участники форума
Сообщений: 1688
Регистрация: 15.9.2012
Пользователь №: 163378



На пикче реактор периодического действия - в пустой реактор подают дозированные реагенты, включают мешалку, в рубашку подают тепло/холод. В процессе реакции выделяется газ из-за испарений. Чтобы не утилизировать газы, делают конденсатор который возвращает в реакционную массу конденсат. Первое предположение неверное про растворение сконденсированных углеводородов в воде. Даже если не будет гидрозатовора, конденсированные газы вернутся в реактор, а не будут поступать в атмосферу.
Лично мое предположение: Гидрозатвор сделан, чтобы организовать циркуляцию конденсируемой фазы в нужном направлении, а именно вниз внутри конденсатора. При монтаже без гидрозатвора газы смогут поступать в конденсатор по обоим трубопроводам. Такое решение широко используется при непрерывной ректификации, когда боковой погон ректификационной колонны поступает в отпарную колонну.
Эскизы прикрепленных изображений
Прикрепленное изображение
 
Вернуться в начало страницы
 
+Ответить с цитированием данного сообщения
Kl_23
сообщение 4.6.2020, 22:10
Сообщение #9





Группа: New
Сообщений: 4
Регистрация: 27.5.2020
Пользователь №: 377644



Для уточнения: если не будет гидрозатвора то нескондесированные Газы могут поступать снизу в теплообменник??
Просто не понимаю как гидрозатвор влияет на движение газов (((
Спасибо большое
Вернуться в начало страницы
 
+Ответить с цитированием данного сообщения
T-rex
сообщение 4.6.2020, 22:40
Сообщение #10





Группа: Участники форума
Сообщений: 1688
Регистрация: 15.9.2012
Пользователь №: 163378



Неконденсированные газы смогут поступать в теплообменник как по нормальной схеме сверху, так и по трубе для конденсата, препятствуя его стеканию. Повторюсь, это лишь предположение. Я хоть и химик, но больше по непрерывным процессам
Вернуться в начало страницы
 
+Ответить с цитированием данного сообщения

Добавить ответ в эту темуОткрыть тему
1 чел. читают эту тему (гостей: 1, скрытых пользователей: 0)
Пользователей: 0

 

Реклама
ООО «Арктика групп» ИНН: 7713634274 | erid 2VtzqvpbUMg




ООО «УНИСПЛИТ» ИНН: 6453155081 erid:2VtzqxNcYBM
Реклама: ООО «СЛ-ЛАЗЕР» ИНН 7727447267 | erid: 2VtzqvEDgM7

Реклама: ООО «Зет-Логист» ИНН 5401982392 | erid: 2Vtzqw44UH9

Последние сообщения Форума






RSS Текстовая версия Сейчас: 7.2.2026, 15:02
Политика ООО ИИП «АВОК-ПРЕСС» в отношении обработки персональных данных