Реклама / ООО «ИЗОЛПРОЕКТ» / ИНН: 7725566484 | ERID: 2VtzqvfExCR
IPB IPB
Проектирование, монтаж, наладка, сервис


Здравствуйте, гость ( Вход | Регистрация )

- Стандарт НП «АВОК» 7.11-2024
«Рекомендации по проектированию инженерных систем
дошкольных образовательных организаций»

АВОК в соц. сетях
ИНН: 7714824045 | erid: 2VtzqwzKQiU
 
Добавить ответ в эту темуОткрыть тему
> Котел КВ-ГМ-10-150 (КВ-ГМ-11,63-150)
Shadow2k
сообщение 20.2.2024, 10:18
Сообщение #1





Группа: New
Сообщений: 6
Регистрация: 2.4.2010
Пользователь №: 50235



Здравствуйте.

Уважаемые коллеги, можете закидать меня тапками, но ткните пожалуйста пальцем, где на общем виде этого котла точки подключения входа и выхода теплоносителя.
На всех сайтах один и тот же чертеж, где ничего не указано...
Прикрепленные файлы
Прикрепленный файл  Котел_КВ_ГМ_10_150__КВ_ГМ_11_63_150_.pdf ( 1,29 мегабайт ) Кол-во скачиваний: 239
 
Вернуться в начало страницы
 
+Ответить с цитированием данного сообщения
Spake
сообщение 26.2.2024, 12:56
Сообщение #2





Группа: New
Сообщений: 8
Регистрация: 17.10.2007
Пользователь №: 12075



схема расположения нижних камер котла, рассматривать совместно со схемой циркуляции

Эскизы прикрепленных изображений
Прикрепленное изображение
Прикрепленное изображение
 
Вернуться в начало страницы
 
+Ответить с цитированием данного сообщения
Evgkarpro
сообщение 2.3.2024, 18:53
Сообщение #3





Группа: Участники форума
Сообщений: 699
Регистрация: 9.7.2008
Пользователь №: 20485



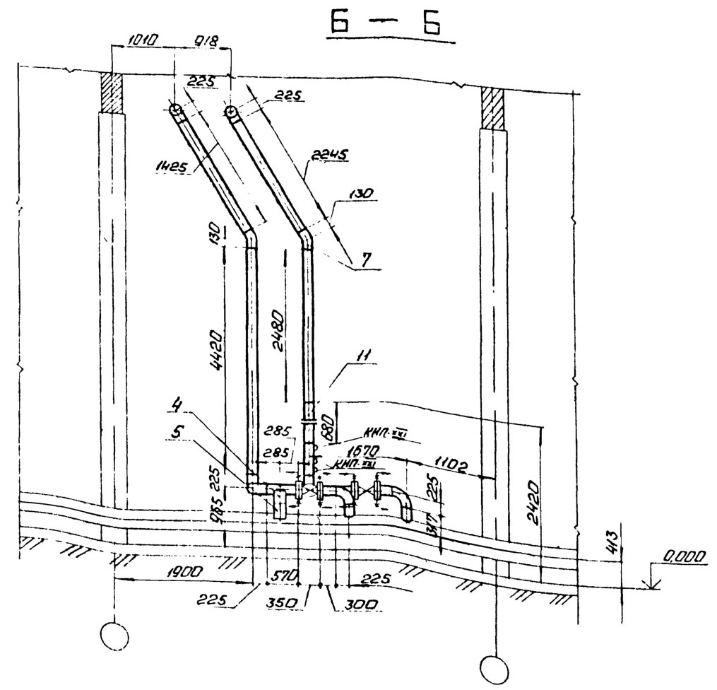
Отметка Z оси трубопроводов +750 мм
Т1, Т2 DN150 (159х4,5).
Патрубки котлоагрегата подвод воды DN150, отвод воды DN200.
Эскизы прикрепленных изображений
Прикрепленное изображение
Прикрепленное изображение
Прикрепленное изображение
 
Вернуться в начало страницы
 
+Ответить с цитированием данного сообщения

Добавить ответ в эту темуОткрыть тему
1 чел. читают эту тему (гостей: 1, скрытых пользователей: 0)
Пользователей: 0

 

Реклама
ООО «Арктика групп» ИНН: 7713634274




Реклама: ООО «СибСтронг» | ИНН 6670013662 | ERID: 2VtzqvdgiCU

ООО «УНИСПЛИТ» ИНН: 6453155081 erid:2VtzqwGt2gw
Реклама: ООО «СЛ-ЛАЗЕР» ИНН 7727447267 | erid: 2VtzqvY3G2W

Реклама: ООО «НовоКС» | ИНН 6330071530 | erid: 2VtzqwMVijq
Последние сообщения Форума






RSS Текстовая версия Сейчас: 30.11.2025, 2:52
Политика ООО ИИП «АВОК-ПРЕСС» в отношении обработки персональных данных