Оптимальный вариант разводки трубопроводов |
|
|
|
|
10.10.2008, 16:08
|
Группа: Участники форума
Сообщений: 77
Регистрация: 2.3.2005
Пользователь №: 509

|
Добрый день! Ситуация следующая: имеетя здание вдоль наружных стен с внутренней стороны колонны через каждые 6 м. Оптимальный способ разводки трубопроводов в полу: 1) вдоль наружных стен огибая колонны или 2) на некотором расстоянии от стены - прямой участок без огибания колонн.
|
|
|
|
|
|
|
|
10.10.2008, 16:14
|
Группа: Участники форума
Сообщений: 20902
Регистрация: 8.8.2007
Из: Vilnius
Пользователь №: 10542

|
Какую систему проектируете, уважаемый? Тип присоединения приборов. С этого надо было начать
|
|
|
|
|
|
|
|
10.10.2008, 20:38
|
Группа: Участники форума
Сообщений: 77
Регистрация: 2.3.2005
Пользователь №: 509

|
система отопления двухтрубная с попутным движением теплоносителя, приборы отопления - стальные панельные радиаторы с нижним подключением, в некоторых помещениях будет теплый пол, разводка в полу в гофротрубе
|
|
|
|
|
|
|
|
10.10.2008, 21:37
|
Группа: Участники форума
Сообщений: 20902
Регистрация: 8.8.2007
Из: Vilnius
Пользователь №: 10542

|
Цитата(denker @ 10.10.2008, 20:38) [snapback]301544[/snapback] система отопления двухтрубная с попутным движением теплоносителя, разводка в полу в гофротрубе И что же, вы тройники (присоединение радиаторов) в бетоне будете хоронить?
|
|
|
|
|
|
|
|
10.10.2008, 21:52
|
Группа: Участники форума
Сообщений: 33478
Регистрация: 4.12.2006
Из: 97
Пользователь №: 5032

|
Может лючкив полу (или с сьемным верхом канал) в местах установки тройников хотя бы?
|
|
|
|
|
|
|
|
10.10.2008, 22:17
|
Группа: Участники форума
Сообщений: 20902
Регистрация: 8.8.2007
Из: Vilnius
Пользователь №: 10542

|
Цитата(инж323 @ 10.10.2008, 21:52) [snapback]301558[/snapback] Может лючкив полу (или с сьемным верхом канал) в местах установки тройников хотя бы? Ага, наковыряет мышинных нор в полу, смонтирует тройники, а как включит отопление потом не найдёт их - пластик от температуры удлиняется капитально и все тройники уедут под пол.....
|
|
|
|
|
|
|
|
10.10.2008, 22:20
|
Группа: Участники форума
Сообщений: 33478
Регистрация: 4.12.2006
Из: 97
Пользователь №: 5032

|
А всякие слесари хомуты потырят если,то и уползет без сомнений.
|
|
|
|
|
|
|
|
11.10.2008, 12:08
|
просто Инженер
Группа: Участники форума
Сообщений: 2233
Регистрация: 11.9.2006
Из: Петербург
Пользователь №: 3974

|
"Ну есть плинтусное подключение" тоненьким ломающимся голоском , и грубый бас прерывает - "Говно это плинтусное подключение" Начинайте с того для кого это делается кто заказчик. Если на котедже и утеплителя в полу сантимов 10 то нормальная схема - непонятно нафига попутная лучше лучевая. Если протяженный объект типа цех - то попутная нормальная схема - непонятно только нафига нижнее подключение. Можете поподробнее, нам интересно - что сподвигло человека на такое решение.
|
|
|
|
|
|
|
|
11.10.2008, 20:56
|
Группа: Участники форума
Сообщений: 20902
Регистрация: 8.8.2007
Из: Vilnius
Пользователь №: 10542

|
Сантехник - начинайте читать тему с 1 поста: "имеетя здание вдоль наружных стен с внутренней стороны колонны через каждые 6 м. " - какой нафиг котедж? Каркасное здание с колоннами. Раньше делали в таких зданиях только стояковые однотрубные системы. Причём с одной стороны колонны подача наверх, с другой стороны обратка вниз. Предложенный афтаром вариант не проходит уже потому, что а) нельзя соединения оставлять в бетоне; б) к пластиковой магистрали присоединятся можно только через компенсирующие изгибы, а это в бетоне сделать нельзя. Можно, конечно, огибая каждую колонну и ставя на каждом пролёте НО зажать пластик. Но это дорого и монтажники проклянут. Решение должно исходить из представления об объекте, а не с полу-фразы. А пока афтар получил то, что хотел: НИЗЗЯ!
|
|
|
|
|
|
|
|
11.10.2008, 23:28
|
просто Инженер
Группа: Участники форума
Сообщений: 2233
Регистрация: 11.9.2006
Из: Петербург
Пользователь №: 3974

|
Я на примере этого здания показал как нужно рассуждать проектировщику и даже не вникая в подробности выдал жизнеспособный вариант. Высший пилотаж имхо. А думать - рассуждать да в пень оно пошло. Не бином Ньютона, как говорил Воланд. Ширше смотрите на вещи. Локальная задача объяснить как делать конкретную работу. Но сверхзадача воспитание мыслящего специалиста - на нее я и нацелен.
|
|
|
|
|
|
|
|
11.10.2008, 23:31
|
Группа: Участники форума
Сообщений: 33478
Регистрация: 4.12.2006
Из: 97
Пользователь №: 5032

|
А от колонны в таком случае до наружных панелей есть пространство = 150 мм.Не колонны же огибать?
|
|
|
|
|
|
|
|
11.10.2008, 23:37
|
Группа: Участники форума
Сообщений: 20902
Регистрация: 8.8.2007
Из: Vilnius
Пользователь №: 10542

|
Если наружные панели навесные нету там никакого расстояния. Есть несколько решений для такого конструктива. Но нужно знать планировку помещений и назначение и вообще, больше знать. А с такими вопросами типа можно ли - в песочницу....
Сообщение отредактировал jota - 11.10.2008, 23:40
|
|
|
|
|
|
|
|
11.10.2008, 23:52
|
Группа: Участники форума
Сообщений: 33478
Регистрация: 4.12.2006
Из: 97
Пользователь №: 5032

|
Как раз с навесными то и есть.И есть(у меня и ксерокс из него был) типовой альбом с указанием мест (возле колонн) где обозначены места для прохода труб стояков или магистралей. Помню это весьма точно поскольку на одном объекте пропустил не совсем по проекту трубы ,но успел в сроки за премию.И были наезды,что мол теперь это заколонное пространство правильно не заделать.Отбивался именно ксероксом из альбома и подписью проектировщиков ОВ и конструктора.Оно после пропуска труб заделывается- может это имел ввиду Йота?
|
|
|
|
|
|
|
|
12.10.2008, 0:19
|
Группа: Участники форума
Сообщений: 20902
Регистрация: 8.8.2007
Из: Vilnius
Пользователь №: 10542

|
Цитата(инж323 @ 11.10.2008, 23:52) [snapback]301723[/snapback] Как раз с навесными то и есть. Точно, есть...теперь и я вспомнил
|
|
|
|
|
|
|
|
12.10.2008, 0:31
|
Инженер-физик широкого профиля :-)
Группа: Модераторы
Сообщений: 5577
Регистрация: 27.3.2005
Из: Московская область
Пользователь №: 596

|
Цитата(jota @ 11.10.2008, 21:56) [snapback]301705[/snapback] "имеетя здание вдоль наружных стен с внутренней стороны колонны через каждые 6 м. " - какой нафиг котедж? Каркасное здание с колоннами... И диаметры труб там явно не коттеджные 16-20, от силы 25мм... Так что никаких заделок в стяжку и баста. Говорить не о чем.
|
|
|
|
|
|
|
|
12.10.2008, 0:34
|
Группа: Участники форума
Сообщений: 33478
Регистрация: 4.12.2006
Из: 97
Пользователь №: 5032

|
Но это может быть и офисным зданием- с таким вот дурным шагом колонн.
|
|
|
|
|
|
|
|
13.10.2008, 14:00
|
Группа: Участники форума
Сообщений: 77
Регистрация: 2.3.2005
Пользователь №: 509

|
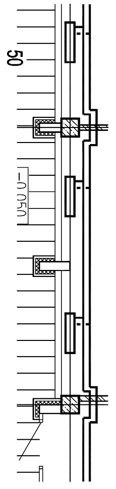
согласно СНиП 41-01 п.6.4.3 люки необходимы в местах рсположения разборных соединений и арматуры. Замоноличивать трубопроводы с тройниками можно, см. выдержку из справочника проектировщика Uponor. Но вопрос был не в этом можно или нет, вопрос - оптимальный способ прокладки трубопроводов, вариант 1 - вдоль колонн, вариант 2 - огибая колонны, см. кртинки. Проектируемое здание детский сад, в некоторых помещениях теплые полы, лучевя схема хороша, но не в данном случае, со стояками тоже - этажи разные по конфигурации, радиаторы с нижним подключением - как вариант, но можно и с боковым подключением, все равно все это будет закрываться съемными деревянными рештками. Системы Uponor дают возможность проектирования разводящих трубопроводов и стояков в стенных штробах и полах. Такую возможность дает система неразъемных соединений Uponor PERT/AL/PERT прессованного типа, для диаметров труб Ø16÷75 мм и Uponor Quick & Easy, для диаметров труб Ø16÷63 мм. Только такие соединения могут заливаться бетоном. Трубопроводы с большими диаметрами можно проектировать практически только по верху строительных перегородок. Допускается прокладка трубопроводов Uponor с диаметрами большими, чем Ø75 мм для Uponor PERT/AL/PERT и Ø63 мм для Uponor Quick & Easy в слоях полов, при условии обеспечения доступа к местам соединений, например через ревизионные люки.
Эскизы прикрепленных изображений
|
|
|
|
|
|
|
|
13.10.2008, 15:05
|
Группа: Участники форума
Сообщений: 33478
Регистрация: 4.12.2006
Из: 97
Пользователь №: 5032

|
Цитата(denker @ 10.10.2008, 17:08) [snapback]301461[/snapback] Добрый день! Ситуация следующая: имеетя здание вдоль наружных стен с внутренней стороны колонны через каждые 6 м. Оптимальный способ разводки трубопроводов в полу: 1) вдоль наружных стен огибая колонны или 2) на некотором расстоянии от стены - прямой участок без огибания колонн. Это пост №1 и есть вышерасположенный. Как мило и незатейливо. Вот к чему надо стремиться- быть во всем похожим на "проектировщика Uponor".Только с ним и никогда без него не сумеете решить вопросы Ов или ВК.Три в одном.Что третье? Как , а % забыли?
|
|
|
|
|
|
|
|
13.10.2008, 15:49
|
Группа: Участники форума
Сообщений: 77
Регистрация: 2.3.2005
Пользователь №: 509

|
Цитата(инж323 @ 13.10.2008, 16:05) [snapback]302038[/snapback] Это пост №1 и есть вышерасположенный. Как мило и незатейливо. Вот к чему надо стремиться- быть во всем похожим на "проектировщика Uponor".Только с ним и никогда без него не сумеете решить вопросы Ов или ВК.Три в одном.Что третье? Как , а % забыли? Откуда столько злости, наверняка личная заинтересованность. Расскажите про Вашу альтернативу  А чем собственно не нравиться этот бренд, некачественая продукция? или по цене не конкурентноспособна? Проще всего сказать - это ху..ня. Но без фактов это не конструктивно.
|
|
|
|
|
|
|
|
13.10.2008, 16:19
|
Группа: Участники форума
Сообщений: 33478
Регистрация: 4.12.2006
Из: 97
Пользователь №: 5032

|
Так тему вы открыли о б оптимальном варианте прокладки трубопроводов" или о продаваемой вами продукции? Злость еще где то увидели.Эт у вас шапка горит. Альтернатива- грамотное решение по прокладке трубопроводов с учетом всех особенностей монтажа,применяемых материалов и эксплуатации( не только технической,но и возможные изменения в использовании помещений). И это значительно шире возможностей неплохого бренда, но не о нем речь. Или это реклама на форуме и закрытие темы. Выбирайте.
|
|
|
|
|
|
|
|
13.10.2008, 17:40
|
Группа: Участники форума
Сообщений: 20902
Регистрация: 8.8.2007
Из: Vilnius
Пользователь №: 10542

|
Tu denker!То, что предлагаете Вы вместе с Uponor, нормальный проектировщик делать не будет. Тем более в детском садике. Может быть в правилах монтажа Uponor и записано, что пресованные соединения можно замонолитить в бетон, но нигде не встречал записи о том, что на прессованные соединения распространяется "продолжительность жизни" труб. Об этом изготовители стыдливо умалчивают. Единственные, дающие гарантию на соединения на весь срок службы это PPV - свариваемые диффузионным способом. Отводы к радиаторам должны быть с компенсационной петлёй - как она будет работать в бетоне? Может имеете образец или ссылку на выполненную таким образом систему в Европе или США, тогда готов буду признать Вашу правоту.
|
|
|
|
|
|
|
|
14.10.2008, 11:14
|
Инженер-физик широкого профиля :-)
Группа: Модераторы
Сообщений: 5577
Регистрация: 27.3.2005
Из: Московская область
Пользователь №: 596

|
Предлагаю Вам для экспермента попробовать перенести тот объем цементно - песчаной смеси, который требуется для замоноличивания 63-ей трубы с фитингами в стяжку...  А если без сарказма, то все производители ПЕКсовых труб рекомедуют для разводки в полу диаметры 16-20; 25 - это предел.
|
|
|
|
|
|
|
|
14.10.2008, 14:36
|
Группа: Участники форума
Сообщений: 98
Регистрация: 26.5.2008
Из: Алма-Ата
Пользователь №: 19095

|
Тут видимо просто все дело в стоимости труб и фитингов в 1-м и во 2-м случае. А принципиально, по-моему, особо разницы нет. В плане гидравлики - вариант с обходом колонн - хуже, но если слишком длинная трасса, обходы могут служить компенсаторами. А ведь в вопросе не содержалась информация по материалу и способу соединения труб. С каких пор пластиковые паяные трубы нельзя в пол замоноличивать?
|
|
|
|
|
|
|
|
14.10.2008, 22:20
|
просто Инженер
Группа: Участники форума
Сообщений: 2233
Регистрация: 11.9.2006
Из: Петербург
Пользователь №: 3974

|
На какие то полисульфо онные фитинги производители дают гарантию при замоноличевании в бетон. По росийским нормам вроде можно поскольку соединение неразборное. У рехау и у других есть деталь переход с пластика на металическую трубку для нижнего подключения радиатора - это все происходит в бетоне.
Сообщение отредактировал Сантехник - 14.10.2008, 22:25
|
|
|
|
|
|
|
|
15.10.2008, 13:28
|
Группа: Участники форума
Сообщений: 6539
Регистрация: 21.2.2008
Из: Гаага
Пользователь №: 15855

|
Чтобы не создавать новую тему, пишу сюда. Коллеги, вот дали мне проект отопления на проверку. И очень меня смущает вот такой тип системы. Это у них получается и не нижняя разводка и не верхняя, а средняя какая-то..Система обслуживает два этажа, приборы, опущенные вниз на соплях, это на первом этаже. Тепловой пункт на втором этаже. Вот что вы скажете о такой конфигурации? К узлу радиатора у меня тоже вопросы есть, но главное, реально ли отрегулировать такую систему? Чертеж прилагаю.
|
|
|
|
|
|
|
|
15.10.2008, 13:39
|
Группа: Участники форума
Сообщений: 369
Регистрация: 18.7.2008
Пользователь №: 20763

|
Цитата К узлу радиатора у меня тоже вопросы есть, но главное, реально ли отрегулировать такую систему? Радиаторов дохрена больно на одну ветку. ИМХО, хрен че выйдет, надо увеличивать количество веток, 22 прибора, на левой нижней. Насколько помню у регуляторов RTD-N 8 положений. Конечно может быть правда там все будет работать. Но протяженность большая, а расход маленький. Вот нижнюю левую я бы на 2 или даже 3 сектора разбил, с отдельным подключением. А если монтажники криворукие, то 100% не заработает как надо. Посмотрел внимательнее, те же траблы с остальными ветками, делить пополам. Они преднастройки клапанов на радиаторах по этажам есть? И еще там есть балансировочные клапаны на ветках, и что похабщина обозначение D32, это металлопласт или полиэтилен? Внутренний (условный проход) или наружний.
Сообщение отредактировал ALEXLIDER - 15.10.2008, 13:42
|
|
|
|
|
|
|
|
15.10.2008, 13:44
|
Группа: Участники форума
Сообщений: 6539
Регистрация: 21.2.2008
Из: Гаага
Пользователь №: 15855

|
Нету настроек. Там еще магистраль из теплового пункта должна под потолком идти и потом к горизонтальной части опускаться, а опуск не показан. Ни одного спускника нету. Воздухоотводчики не везде и где не надо стоят. И вообще, почему стояками-то было не сделать все нормальными? Но тут ведь такое дело, это проект турецких субчиков, монтировать им и отвечать вобщем тоже им. Я могу поставить штамп "полностью переделать" если это действительно *опа. Потому что монтаж систем уже должен начаться вот-вот. Трубы стальные водогазопроводные и электросварные.
Сообщение отредактировал Странная Белка - 15.10.2008, 13:45
|
|
|
|
|
|
|
|
15.10.2008, 13:47
|
Группа: Участники форума
Сообщений: 369
Регистрация: 18.7.2008
Пользователь №: 20763

|
Цитата Я могу поставить штамп "полностью переделать" если это действительно *опа. Потому что монтаж систем уже должен начаться вот-вот. ну раз даже спускников нету и натроек. То ставь смело. И выдай рекомендацию разбить все пополам, тогда эту хрень еще можно заставить работаь. Труба стоит копейки, нечего жалеть. Пусть к каждой ветке примерно поровну идет расстояние от радиаторов до магистрали. Еще от минваты при возможности надо отказаться, столько людей ею калечат.
Сообщение отредактировал ALEXLIDER - 15.10.2008, 13:50
|
|
|
|
|
|
|
|
15.10.2008, 14:01
|
Группа: Участники форума
Сообщений: 6539
Регистрация: 21.2.2008
Из: Гаага
Пользователь №: 15855

|
Наврала я. ТП на первом этаже и они идут магистралью под потолком первого этажа. Сложно без отметок-то, которых тоже нет. Энергофлексом лучше изолировать?
Сообщение отредактировал Странная Белка - 15.10.2008, 14:02
|
|
|
|
|
|
|
|
15.10.2008, 14:03
|
Группа: Участники форума
Сообщений: 369
Регистрация: 18.7.2008
Пользователь №: 20763

|
Цитата Энергофлексом лучше изолировать? Да хоть чем, главное чтоб пожарники пропустили.
|
|
|
|
|
|
1 чел. читают эту тему (гостей: 1, скрытых пользователей: 0)
Пользователей: 0
|
|
Реклама
ООО «Арктика групп» ИНН: 7713634274
Реклама: ООО «СибСтронг» | ИНН 6670013662 | ERID: 2VtzqvdgiCU
ООО «УНИСПЛИТ» ИНН: 6453155081 erid:2VtzqwGt2gw
Реклама: ООО «СЛ-ЛАЗЕР» ИНН 7727447267 | erid: 2VtzqvY3G2W
Реклама: ООО «НовоКС» | ИНН 6330071530 | erid: 2VtzqwMVijq
Последние сообщения Форума
|