|
  |
Удивительная система отопления, Одно-, двухтрубные системы (это может быть интересно) |
|
|
|
|
28.9.2009, 10:09
|
Группа: Участники форума
Сообщений: 33571
Регистрация: 4.12.2006
Из: 97
Пользователь №: 5032

|
Так комплексно надо подходить к проблеме.Эта толпа не только прогреет помещение(увеличив бытовые так сказать),но и классно надышит. Потому и открытие форточки пошире ускорит изменение Т в этом помещении.
|
|
|
|
|
|
|
|
28.9.2009, 11:22
|
Группа: Участники форума
Сообщений: 10258
Регистрация: 8.3.2007
Пользователь №: 6446

|
"Известно, на кой. Шоб как в европах." Европа не виновна вроде как - нормы наши изначально не создают (не подталкивают создавать) резерва (ни в "стояках" ни в "системе" на вводе, в УУ/ТП) тепла и напора "для быстрого реагирования" на изменения температуры в помещении.
Да и переток тепла из соседних помещение (нет вообще "теплоизоляции") надо бы принимать во внимание.
Пример "с толпой" возможно и не реален и не о нём речь, но "остывание - над расчетом теплоустойчивости помещения" - в здании создается устойчивое условно-стационарное тепловое поле. Рубеж за которым более-менее "бдят" - наружные ограждения. На "внутренние межкомнатные перетоки тепла" никто никогда не обращает внимание.
Это и есть, возможно, причина отсутствия у Вас результата для "заказчика".
ПС Русские немцы в ФРГ так иногда "экономят", временно живя после переезда в зданиях типа наших "хрущёбок" - свои термостаты прикрывают и греются за счёт недогадливых соседей
|
|
|
|
|
|
|
Гость_Владимир Борисович_*
|
29.9.2009, 16:19
|
Guest Forum

|
Продолжу тему "удивительных систем отопления". Раздобыл несколько старых схем, некоторые показались интересными.На рис.5 схема доктора Вольперта (Германия) 1860год. На рис 6 однотрубная проточная тех же времен. На рис. 14 Голандская система для зданий повышенной этажности 1927года. Схема давала решение по изоляции домовой системы от высоких давлений районных т\сетей. Кран 9 регулировочный. Особенностью этой системы является заглушение верхнего нипеля предпоследней по ходу воды секции радиатора. Шаровый кран отрегулирован на пропуск кол-ва воды который диктуется температурным режимом.Гашение давления перед прибором осуществляется краном 9.
Эскизы прикрепленных изображений
|
|
|
|
|
|
|
|
29.9.2009, 17:50
|
Группа: Участники форума
Сообщений: 4383
Регистрация: 14.11.2006
Пользователь №: 4724

|
Рисунок 6. Третий этаж. Куда стрелка указывает?
|
|
|
|
|
|
|
Гость_Владимир Борисович_*
|
29.9.2009, 18:17
|
Guest Forum

|
Есть там небольшая ошибочка на втором этаже, клянусь не я рисовал, а как поправить на компе не знаю.Полагал что специалисты поймут как правилно движется вода в этой системе.
|
|
|
|
|
|
|
Гость_Владимир Борисович_*
|
29.9.2009, 18:52
|
Guest Forum

|
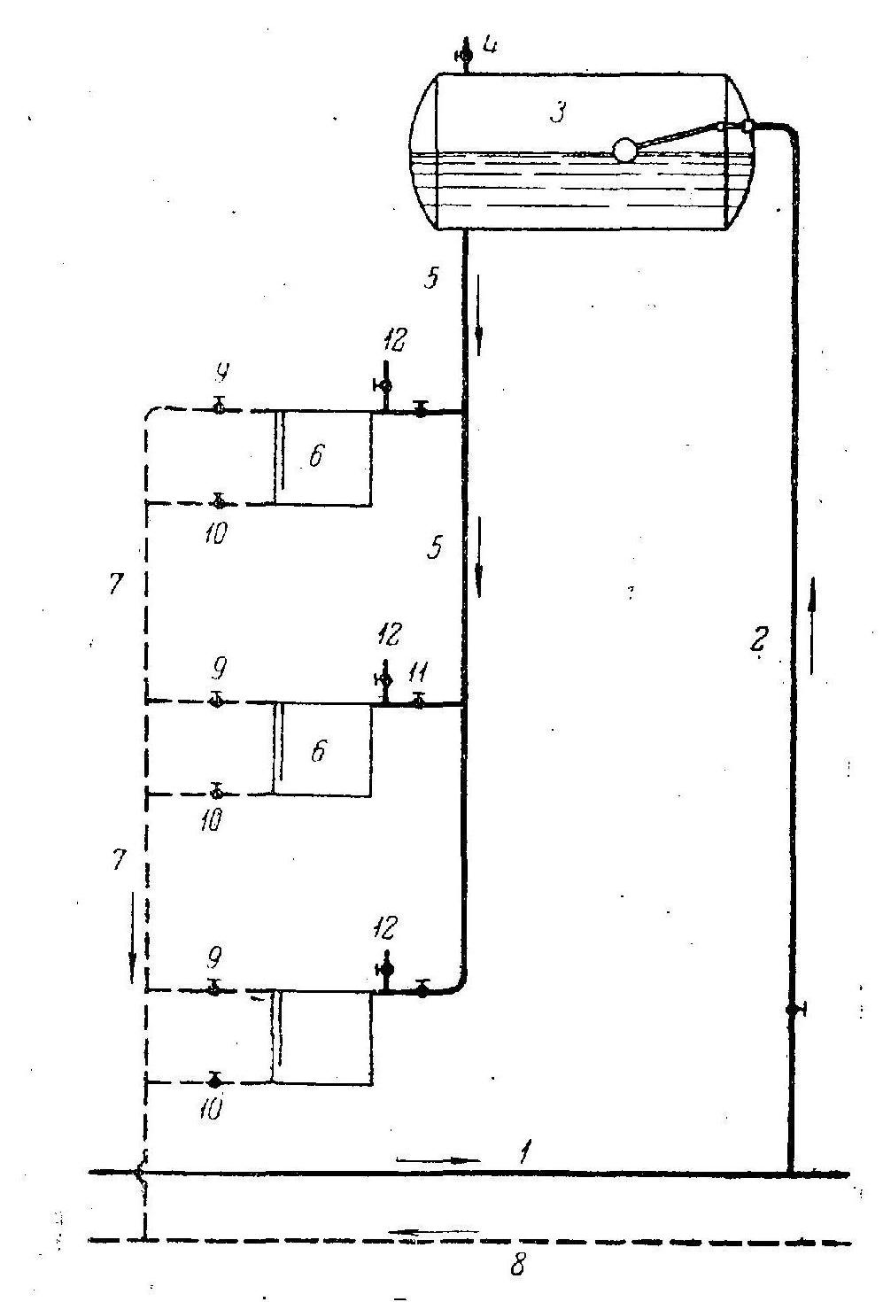
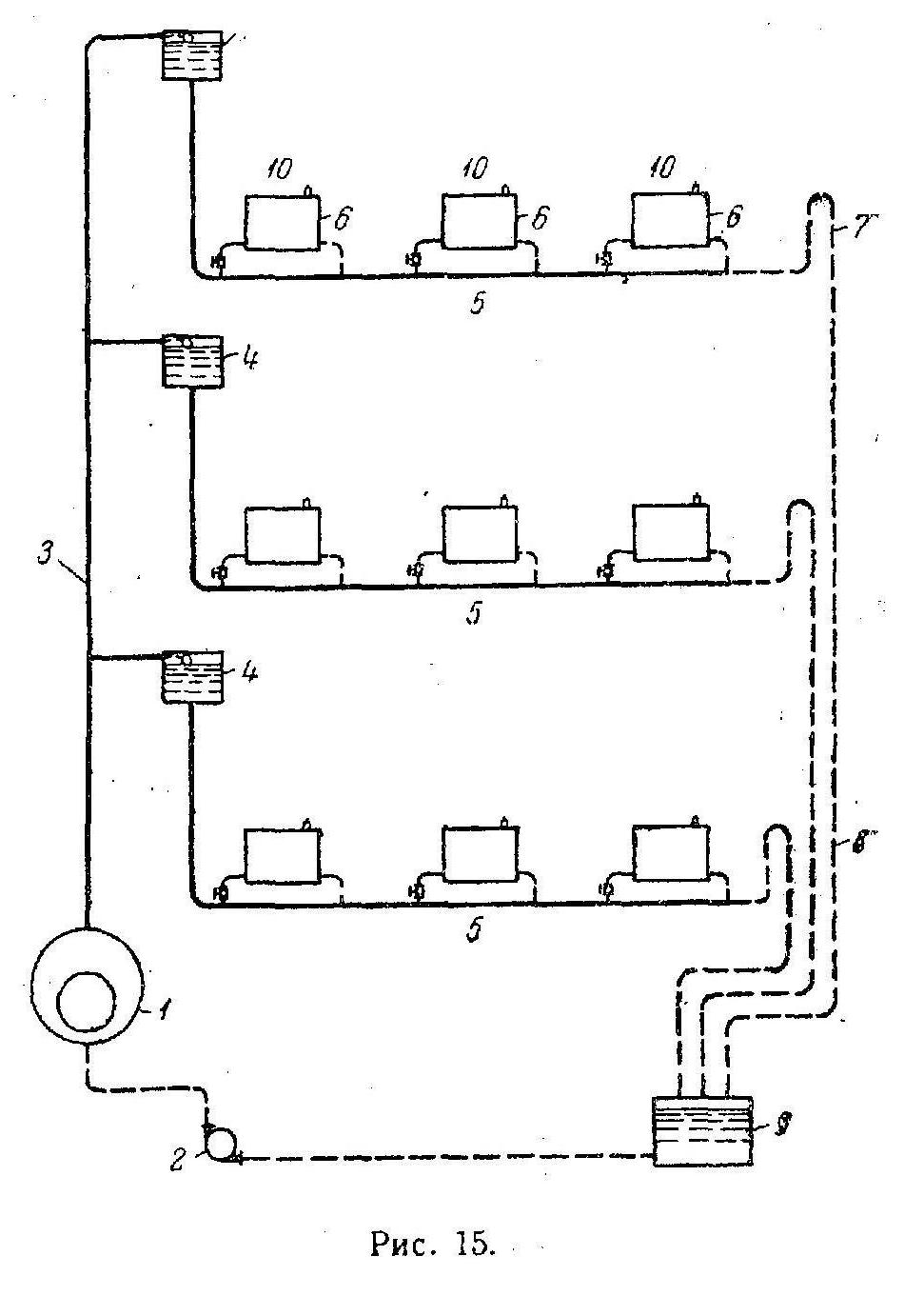
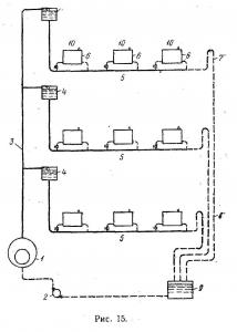
И не показать жалко, и показывать много тоже. Там же еще штук пять таких схем. По каждой схеме описание, по некоторым гидравлический расчет. Книга Уханова "Новые системы отопления" 1930год. Подробно расписывать не буду, только коротко. Рис. 15 Поэтажная схема инженера Шлезингерма со сниженым гидростатическим давлением с применением керамических радиаторов. Смонтирована в N ской части Московского военного округа в 1929году.В целях уменьшения давления разбита на три группы. Насосная, уравнительные бачки с шаровыми кранами.На каждом этаже собственная система.Трубная петля не дает системе опорожниться при остановке насоса.В качестве воздушников кнопочные воздушные клапаны.
Эскизы прикрепленных изображений
|
|
|
|
|
|
|
|
29.9.2009, 19:29
|
Группа: Участники форума
Сообщений: 4383
Регистрация: 14.11.2006
Пользователь №: 4724

|
А в чем жалость показать много? Это история. Не ноухау, не ком тайна. Использовать сейчас такие системы врят ли будут. Стрелку повернуть не проблема. Достаточно купить / скачать книгу фотошоп для чайников, я могу ее повернуть, нужен лишь качественный исходник- качественно отсканеный
|
|
|
|
|
|
|
|
29.9.2009, 20:36
|
Группа: Участники форума
Сообщений: 10258
Регистрация: 8.3.2007
Пользователь №: 6446

|
Немного вроде "странно" смотрятся уже приводимые схему. Сегодня про них можно сказать, что это "кустарщина" - так уж "незамысловато" они выглядят на "современном" фоне. Интересно в них "различать и узнавать" направление от "вчера к сегодня". Из приложенного здесь файла "100_let_2_a" (По материалам книги А. И. Орлова) вырезал "Классификацию ..Чаплина".
Даже привычные слова, написанные несколько "иной грамматикой", по своему привлекательны.
|
|
|
|
|
|
|
|
29.9.2009, 21:06
|
Не по вкусу пряник, не по чину мундир.
Группа: Участники форума
Сообщений: 50503
Регистрация: 24.4.2009
Пользователь №: 32666

|
По поводу стрелки.
Эскизы прикрепленных изображений
|
|
|
|
|
|
|
|
29.9.2009, 21:30
|
Не по вкусу пряник, не по чину мундир.
Группа: Участники форума
Сообщений: 50503
Регистрация: 24.4.2009
Пользователь №: 32666

|
Или так. А "фотошопа для чайников" не надо, достаточно "пайнт для профессионала".
Эскизы прикрепленных изображений
|
|
|
|
|
|
|
Гость_Владимир Борисович_*
|
29.9.2009, 21:31
|
Guest Forum

|
Спасибо Serv! Добрый вечер Всем. Книга Орлова одна из лучших по истории отопления, но во многом не полная,может время было другое. Теперь еще одна система. Система Рязанцева.Опять попытка внедрить керамические радиаторы,в стране в те годы напряженка была с металлом.Насосная,уравнительный сосуд с шаровым клапаном.Принцип действия по мнению автора,в том,что вода под действием напора насоса поступает в уравнительный сосуд и под действием напора созданного высотой резервуара идет к стоякам.По мнению автора движение воды с разрывом струи поможет прибору находится под давлением столба воды, равного высоте прибора.Испытания этой системы показали ,что разрыва струи не получилось,скорость только уменьшилась.На этом все и кончилось. А впереди нас ждут более современные, интересные находки и они уже есть.
Эскизы прикрепленных изображений
|
|
|
|
|
|
|
Гость_Владимир Борисович_*
|
30.9.2009, 9:07
|
Guest Forum

|
В мировом арматуростроении в 20е годы лучшим считался вентиль "Косва", который часто встречался в наших справочниках и рекомендовался к применению в системах отопления. При изучении истории создания этого вентиля выяснилось, что этот вентиль был изобретен в Швеции в 1898году.В 1910году германская фирма Штединг и Майзель приступила к его изготовлению, еще более изменив угол наклона и тем самым улучшив плавность изгиба струи. Поскольку в 20е годы в нашей стране не было ни одного предприятия по выпуску запорной арматуры было принято решение начать выпуск этого вентиля на заводе "Армтреста", так он появился в нашей стране и выпускался до 1958года.
Эскизы прикрепленных изображений
|
|
|
|
|
|
|
Гость_Владимир Борисович_*
|
30.9.2009, 9:13
|
Guest Forum

|
Страшно извиняюсь, не ту картинку показал. Вот сейчас будет правильно.
Эскизы прикрепленных изображений
|
|
|
|
|
|
|
|
30.9.2009, 11:48
|
Группа: Участники форума
Сообщений: 10258
Регистрация: 8.3.2007
Пользователь №: 6446

|
А это, получается, идея "Косва" уже в современном исполнении? Очень слабая "деформация потока и плавное регулирование"
|
|
|
|
|
|
|
|
30.9.2009, 13:28
|
старожил экс-модератор согласный инженер дед Иван
Группа: Участники форума
Сообщений: 44952
Регистрация: 23.11.2004
Из: Москва
Пользователь №: 273

|
В своё время, обслуживая ДВСы (дизели), на которых установлен вот таковой вот кран индикаторный как на картинке (он соединяет цилиндр с атмосферой, работая с переменным давлением и высокой температурой газов ДВС и при этом не закисает и не "течет"), я недоумевал почему такой же НЕ ставят на СО. Оказывается ставили, видать потом экономить стали.
Прикрепленные изображения
|
|
|
|
|
|
|
Гость_DinaZavr_*
|
30.9.2009, 13:48
|
Guest Forum

|
Раз уж вспомнили вентиль "Косва", надо колоться и про задвижку "Лудло". Что за прохиндей её придумал?
|
|
|
|
|
|
|
|
30.9.2009, 13:57
|
Группа: Участники форума
Сообщений: 33571
Регистрация: 4.12.2006
Из: 97
Пользователь №: 5032

|
Цитата(Vano @ 30.9.2009, 14:28) [snapback]440234[/snapback] я недоумевал почему такой же ставят на СО. Оказывается ставили, видать потом экономить стали. Почему такой же? Они ж только внешне похожи. Дирочка в вашем то вон кака маленькая.., а у мэтра вон здоровущая видна.
|
|
|
|
|
|
|
|
30.9.2009, 14:27
|
старожил экс-модератор согласный инженер дед Иван
Группа: Участники форума
Сообщений: 44952
Регистрация: 23.11.2004
Из: Москва
Пользователь №: 273

|
НЕ пропустил, дырочки это к Бернули, тут принцип и уплотнение важны.
|
|
|
|
|
|
|
|
30.9.2009, 14:53
|
Группа: Участники форума
Сообщений: 10258
Регистрация: 8.3.2007
Пользователь №: 6446

|
Цитата(DinaZavr @ 30.9.2009, 14:48) [snapback]440255[/snapback] Раз уж вспомнили вентиль "Косва", надо колоться и про задвижку "Лудло". Что за прохиндей её придумал? Как же забудешь! Поляков (преподаватель "слесарного дела" в техникуме) заставлял толочь стекло, просеивать через несколько слоёв марли. Потом смешивать с отработанным машинным маслом и шлифовать (часами) оба диска от борозд - делать "притирку". Иначе "незачёт". И электроды заставлял из проволоки самим делать - "обмазку" по его рецепту. И зачет по "сварке" сдавать собственными электродами. ИСТОРИЯ ОТЕЧЕСТВЕННОГО АРМАТУРОСТРОЕНИЯ Цитата В 1862 году в Германии был выдан патент на клиновую задвижку. В 1886 году Джозеф Хопкинсон предложил параллельную задвижку, в которой уплотнение осуществлялось давлением среды на диск, техническое решение, которое используется и сегодня Вот ещё один "косой красовец". фланцевый
Сообщение отредактировал Kult_Ra - 30.9.2009, 15:00
|
|
|
|
|
|
|
Гость_Владимир Борисович_*
|
30.9.2009, 19:04
|
Guest Forum

|
Уважаемая Дина ! По Вашей просьбе обязательно, но чуть позже, подготовить надо. Я по запорной арматуре не очень, но найду. Сегодня меня удивила одна система, вернее способ ее регулирования. Сколько нам еще удивляться не знаю, похоже процесс бесконечен. Просто удивительно, сколько в те годы было поисков и находок разных, кажется жизнь отопленцев била ключом. Сейчас как то тихо стало.Наверное все уже придумано, все решено, и проблем никаких нет. А может ждем решений из-за бугра, не знаю. Так вот о системе.Уважаемый Культ Ра, я попрошу Вас прокоментировать работу этого "удивительного " крана. Поскольку схема есть,а ответов нет. Под буквой г конечно,похоже там целая связь имеется. Автор между прочим А.И.Орлов. 1938год.
Эскизы прикрепленных изображений
|
|
|
|
|
|
|
|
30.9.2009, 20:19
|
Группа: Участники форума
Сообщений: 10258
Регистрация: 8.3.2007
Пользователь №: 6446

|
Была у меня книга Орлова, издания то ли конца 50-х то ли 60-х годов - порылся на полках, не попалась что-то. Может дети "затаскали", когда учились.
Опять подшучиваете. На этой схеме вроде показана идея (в вариантах), как из проточной ( "а" с последовательным подключением ОП) не регулируемой по теплосъёму системы с помощью 4-х ходового крана сделать "количественную" регулировку. б) - одностороннее подключение ОП с осевым (можно и со смещённым). в) - двухстороннее со смещённым ЗУ.
При увеличении "масштаба" на "в" даже показано положение, как отключить совсем левый прибор (смещённый ЗУ) - 100% через байпас. По нынешним меркам, этот кран давал возможность регулировать "альфа затекания" от нуля до 1. При осевом ЗУ (рис "д") - слева показано положение, когда в каждый прибор "затекает" по 50% расхода стояка. Справа - когда левый прибор отключен совсем.
ПС. Все эти "изделия" имеют свойство "замирать" навечно. На корабле часто звучала команда (в конце приборки): -"Медь драить, резину мелить, барашки расходить и смазать".
Вся наша арматура требует "проворачивания", иначе "прикипает". Что "советские" КДР, что ТХК, что пробковые краны и вентили на стояках. Ни "жильцы", ни служба ЖКК этого зачастую не делают - реально бывало при нужде невозможно воспользоваться арматурой.
Курьезный как бы случай: в "Овентропе" мне однажды показывали (лет восемь назад) "ноу-хау" на термостате - пластмассовая втулочка на штоке. Вынуждены были поставить на свою арматуру для РФ, чтоб она "эпизодически" очищала как бы "свежую" накипь, пока она совсем не заблокировала ход. Посмеялись на "проблемами Запада".
|
|
|
|
|
|
|
Гость_Владимир Борисович_*
|
30.9.2009, 21:20
|
Guest Forum

|
Профессор Одельский Э.Х. 1952год. "Проблемы отопления" Автор системы Н.Н.Разумов. Система колонного отопления и система рамочного отопления. Замоноличенные регистры выполняют роль отопительных приборов. Колонны 300 на 300мм ,разность температур теплоносителя и помещения в 64,5гр. Система рамочного отопления запроектирована для гор. Краматорска. Теплопроизводительность замоноличенного регистра с одиночной трубой по контуру обеспечивает при дельта t =60гр панель пролетом 6,0м для среднего этажа и при двух трубах для верхнего этажа. Москва. НИИ экспериментального проектирования АС и А СССР. Вот такое чудо, возможно для диссертации.
Эскизы прикрепленных изображений
|
|
|
|
|
|
|
Гость_Владимир Борисович_*
|
30.9.2009, 21:29
|
Guest Forum

|
Похоже опять ошибся по схеме, поправлюсь.
Эскизы прикрепленных изображений
|
|
|
|
|
|
|
Гость_Владимир Борисович_*
|
1.10.2009, 9:07
|
Guest Forum

|
На рис. 17 Система отопления Симонова для керамических приборов. Циркулирующая вода передает свою теплоту не смешиваясь с водой находящейся в радиаторе. !933год. На рис. 18 способ передачи тепла с понижением температуры поверхности прибора. Прибор заполненый водой нагрев которой осуществляется паром при помощи специальной паровой трубки.На рис. 18 показан нагревательный прибор "Dampfwasser" Германия, с местным нагревом воды. 1935год.
Эскизы прикрепленных изображений
|
|
|
|
|
|
|
|
1.10.2009, 9:53
|
Группа: Участники форума
Сообщений: 10258
Регистрация: 8.3.2007
Пользователь №: 6446

|
Что бывали керамические ОП, узнал только от Вас (и не подозревал даже). Получается, судя по обилию вариантов схемных решений, была "целая эпоха". Санфаянс - это привычно, канализационные трубы керамические в "юности" приходилось "прорабствовать".
"теплоту не смешиваясь с водой" - чудной какой-то он по "подключению". "Контур" циркуляции внизу прибора (и вверху есть, но "не задействован, что ли") ? Можно, показано, было "одноместно" присоединить к носителю тепла или "разносторонне".
"с понижением температуры поверхности прибора" - уже совсем "количественное регулирование" вроде бы прикрытием крана с "метками настройки"
Сообщение отредактировал Kult_Ra - 1.10.2009, 10:00
|
|
|
|
|
|
|
Гость_Владимир Борисович_*
|
1.10.2009, 14:31
|
Guest Forum

|
Представте себе 20й год. В стране разруха полная нет ничего.Два завода делают стальные трубы 10км в месяц на всю страну.Радиаторы делает один завод от 800 до 1000шт в месяц. Запорная арматура не производится вообще.Серго Ордженикидзе поштучно выдает эти мат-лы.Пуск ТЭЦ в Питере в 1924году. Оборудования нет.Трое суток сварщики под руководством гл. инженера Гинтера Л.Л.(светлая ему память) изготавливают смесительный бойлер из найденой в металлоломе чугунной 800мм трубы длиной 6м.Расчеты тут же на коленках и запускают т\сеть.Вот если коротко какая была обстановка.Отсюда и радиаторы керамические появились сфотографированные у американцев.Они недолго были лет 6 пожалуй.От бедности появились и стальные радиаторы и стальные ребристые трубы, которые разрешалось делать только из обрезков стальных труб 76мм с насадкой и навивкой ребер. Вот такие были дела. А сечас профессор Аше Б.М. вопрос на форум задает. На каком делении шкалы манометра, разделенного на атмосферы, будет стоять стрелка манометра, если давление испытываемое внутренней спиралью манометра составит 6 атм.
|
|
|
|
|
|
|
|
1.10.2009, 15:51
|
Группа: Участники форума
Сообщений: 838
Регистрация: 24.4.2006
Из: г.Новосибирск
Пользователь №: 2710

|
Цитата На каком делении шкалы манометра, разделенного на атмосферы, будет стоять стрелка манометра, если давление испытываемое внутренней спиралью манометра составит 6 атм. 5 атмосфер + 4/5(шкалы от 5 до 6)
|
|
|
|
|
|
|
Гость_Владимир Борисович_*
|
1.10.2009, 20:23
|
Guest Forum

|
Расчет системы отопления. Кертинг старший. 1895год. По манометру ответ пока неверный.
Эскизы прикрепленных изображений
|
|
|
|
|
|
|
|
1.10.2009, 20:29
|
Группа: Участники форума
Сообщений: 4383
Регистрация: 14.11.2006
Пользователь №: 4724

|
Цитата(Владимир Борисович @ 1.10.2009, 15:31) [snapback]440831[/snapback] На каком делении шкалы манометра, разделенного на атмосферы, будет стоять стрелка манометра, если давление испытываемое внутренней спиралью манометра составит 6 атм. 5 атмосфер.
|
|
|
|
|
|
|
|
2.10.2009, 9:33
|
Группа: Участники форума
Сообщений: 10258
Регистрация: 8.3.2007
Пользователь №: 6446

|
Очевидно, что в те времена преобладало "коттедж-строительство", получались крохотные схемы и можно расчетную схему совместить с расчетной таблицей. Особенно "старательно" показа необходимость иметь "уклоны" - удаление воздуха и "опорожнение".
ПС. Аше Б.М., оказывается, был любитель задавать "умные вопросы" (или это у него метод побуждение к "мышлению")? И себя и студентов?
В трубке во "внутренней спирали" будет вдруг шесть ати (5 ата). Это так, если Аше задает вопрос на "Уровне моря". Да ответить ему в "такт" не можно - как в его дни шкалу градуировали, отсюда не видать.
Сообщение отредактировал Kult_Ra - 2.10.2009, 9:36
|
|
|
|
|
|
|
  |
1 чел. читают эту тему (гостей: 1, скрытых пользователей: 0)
Пользователей: 0
|
|
Реклама
ООО «Арктика групп» ИНН: 7713634274 | erid 2VtzqvpbUMg
ООО «УНИСПЛИТ» ИНН: 6453155081 erid:2VtzqxNcYBM
Реклама: ООО «СЛ-ЛАЗЕР» ИНН 7727447267 | erid: 2VtzqvEDgM7

Реклама: ООО «Зет-Логист» ИНН 5401982392 | erid: 2Vtzqw44UH9
Последние сообщения Форума
|