|
  |
Удивительная система отопления, Одно-, двухтрубные системы (это может быть интересно) |
|
|
|
|
3.10.2009, 21:21
|
Группа: Участники форума
Сообщений: 2660
Регистрация: 20.3.2005
Пользователь №: 570

|
Цитата Простой регулятор протока . Напрашивается само: регулирование теплоотдачи отопительного прибора количественным методом с более-менее постоянным гидравлическим режимом. Остается разобраться с перемычкой. Точнее с ее высотой врезки по отношению к подаче. Своего рода некое подобие гидрозавтора в виде гидростатического столба жидкости, который видимо и тормозит расход теплоносителя через прибор.
|
|
|
|
|
|
|
|
3.10.2009, 21:35
|
Группа: Участники форума
Сообщений: 37
Регистрация: 2.11.2008
Пользователь №: 24825

|
Цитата(HeatServ @ 3.10.2009, 22:18) [snapback]441511[/snapback] Наиболее вероятно, только получается двухпозиционное дискретное регулирование, для чего такое могло вообще быть применено? Кран не обязательно трёхходовой . Может быть некоторое подобие заслонки перекрывающее два выхода при этом получается регулировка по отношению одного выхода к другому. Представьте , например , смеситель работающий в обратную сторону .
Сообщение отредактировал promgaz - 3.10.2009, 21:41
|
|
|
|
|
|
|
|
3.10.2009, 21:44
|
Не по вкусу пряник, не по чину мундир.
Группа: Участники форума
Сообщений: 50503
Регистрация: 24.4.2009
Пользователь №: 32666

|
Цитата(Wiz @ 3.10.2009, 22:21) [snapback]441512[/snapback] Остается разобраться с перемычкой. Точнее с ее высотой врезки по отношению к подаче. Своего рода некое подобие гидрозавтора в виде гидростатического столба жидкости, который видимо и тормозит расход теплоносителя через прибор. При чём тут столб, всё уравновешено, хоть вверх, хоть вниз. Тут только диаметрами и длинами можно играть. Длиной можно играть наиболее "тонко", нежели типоразмером, а с учётом того, что это помещение и прибор внизу (как правило), то по логике труба и идёт вверх. Цитата(promgaz @ 3.10.2009, 22:35) [snapback]441515[/snapback] Кран не обязательно трёхходовой . Может быть некоторое подобие заслонки перекрывающее два выхода при этом получается регулировка по отношению одного выхода к другому. Представьте , например , смеситель работающий в обратную сторону . Может быть конечно, тоже об этом подумал, но признаков плавной регулировки по рисунку не видно.
|
|
|
|
|
|
|
Гость_Владимир Борисович_*
|
3.10.2009, 22:36
|
Guest Forum

|
Может это поможет.
Эскизы прикрепленных изображений
|
|
|
|
|
|
|
Гость_Владимир Борисович_*
|
4.10.2009, 12:06
|
Guest Forum

|
Выходной! А прошлая тема пока не открыта. Завтра разбираться будем. А сегодня, знаете ли Вы, что для сварки труб малых диаметров в 1934году была разработана следующая инструкция :из талькового порошка,затворенного в 5% растворе столярного клея изготовить цилиндрические втулки которые необходимо заложить на место стыка,предотвращая этим затекание металла.После сварки втулки вымываются водой. Знаете ли Вы, что во многих первых отопительных котлах, как паровых,так и водяных колосники были полые, заполненные водой, которые сообщались с емкостью котла.Считалось,что это повышает КПД котла.Лет 20 продержались. Знаете ли Вы, что тепловая изоляция магистральных трубопроводов расположенных на чердаках и подвалах выполнялась по инструкции, в которой говорилось следующее: перед изоляцией необходимо окрасить ртубы,затем обернуть их войлочной лентой, после этого обернуть их пучками соломы с обвязкой щнуром, после чего обмажте ее жидко разведенной глиной, но только жирной.Затем обернуть туго парусиной и окрасить на два раза хорошей маслянной крской.Вот такая инструкция.
|
|
|
|
|
|
|
|
4.10.2009, 12:53
|
Не по вкусу пряник, не по чину мундир.
Группа: Участники форума
Сообщений: 50503
Регистрация: 24.4.2009
Пользователь №: 32666

|
Цитата(Владимир Борисович @ 3.10.2009, 23:36) [snapback]441521[/snapback] Может это поможет. Если стоят два прибора, то уже можно более-менее корректно регулировать. А вообще сложность в "расшифровке" несложных систем вроде этой говорит только об одном - люди разучились думать самостоятельно и творчески. Кругом штампы и рекомендации "фирм с мировым именем". И книга Ваша нужна и даже очень.
|
|
|
|
|
|
|
|
4.10.2009, 13:03
|
старожил экс-модератор согласный инженер дед Иван
Группа: Участники форума
Сообщений: 44952
Регистрация: 23.11.2004
Из: Москва
Пользователь №: 273

|
Думать, при поточном выпуске проектной документации некогда, не оплачивается, все действующие нормы и сама специфика работы ком.предприятия требуют сокращения времени проектирования, стоимости и применения типовых решений. Думать можно на даче у себя - как хобби.
|
|
|
|
|
|
|
|
4.10.2009, 13:14
|
Группа: Участники форума
Сообщений: 20930
Регистрация: 8.8.2007
Из: Vilnius
Пользователь №: 10542

|
Все системы переживают эволюцию в которой есть множество тупиковых вариантов. Остаются только надёжные и экономически обоснованные, остальные - в истории.....
|
|
|
|
|
|
|
|
4.10.2009, 13:54
|
Не по вкусу пряник, не по чину мундир.
Группа: Участники форума
Сообщений: 50503
Регистрация: 24.4.2009
Пользователь №: 32666

|
Цитата(Vano @ 4.10.2009, 14:03) [snapback]441569[/snapback] Думать, при поточном выпуске проектной документации некогда, не оплачивается, все действующие нормы и сама специфика работы ком.предприятия требуют сокращения времени проектирования, стоимости и применения типовых решений. Думать можно на даче у себя - как хобби. Вот это и есть основная ошибка. Некто или нечто очень давно пытается ввести в заблуждение, что думать это долго. Скорость мысли равна скорости света, человек думает образами - 15 штук в секунду. И если все 15 штук образов запрограммировать на шаблоны, то точно хана. И останутся только боты с числовым управлением да сраные манагеры. "Бот Vano, смените прошивку. В новую добавлены языки Западного Китая: русский, немецкий, финский, украинский, белорусский". Цитата(jota @ 4.10.2009, 14:14) [snapback]441570[/snapback] Все системы переживают эволюцию в которой есть множество тупиковых вариантов. Остаются только надёжные и экономически обоснованные, остальные - в истории..... Вы считаете, что эволюция (систем в том числе) идёт по единственно возможному правильному пути?
Сообщение отредактировал HeatServ - 4.10.2009, 13:56
|
|
|
|
|
|
|
|
4.10.2009, 14:21
|
старожил экс-модератор согласный инженер дед Иван
Группа: Участники форума
Сообщений: 44952
Регистрация: 23.11.2004
Из: Москва
Пользователь №: 273

|
Цитата(HeatServ @ 4.10.2009, 14:54) [snapback]441575[/snapback] Вот это и есть основная ошибка. Некто или нечто очень давно пытается ввести в заблуждение, что думать это долго. Скорость мысли равна скорости света, человек думает образами - 15 штук в секунду. И если все 15 штук образов запрограммировать на шаблоны, то точно хана. И останутся только боты с числовым управлением да сраные манагеры. "Бот Vano, смените прошивку. В новую добавлены языки Западного Китая: русский, немецкий, финский, украинский, белорусский". Это и есть Ваша ошибка - для думанья созданы спец. учреждения - Кафедры Вузов и НИИ. Никто не запрещает проектировщику устроиться в них и думать. В практической работе в 99% случаев думать приходится только над разводкой тр-дов СО. И это не то чтобы хорошо или плохо, такова реальность. Западный Китай как раз и возникает от того, что мозги надо прикладывать по месту, а проектирование обычных, не уникальных зданий это конструктор, из заранее отработанных деталей/решений.
|
|
|
|
|
|
|
|
4.10.2009, 14:41
|
Не по вкусу пряник, не по чину мундир.
Группа: Участники форума
Сообщений: 50503
Регистрация: 24.4.2009
Пользователь №: 32666

|
Цитата(Vano @ 4.10.2009, 15:21) [snapback]441577[/snapback] это конструктор, из заранее отработанных деталей/решений. Дык кто спорит, сие есть факт. Цитата(Vano @ 4.10.2009, 15:21) [snapback]441577[/snapback] Это и есть Ваша ошибка - для думанья созданы спец. учреждения - Кафедры Вузов и НИИ. И значит для разъяснения принципа работы системы из поста 394 необходимо привлечение специалистов из НИИ и ВУЗов? Если так, то Западный Китай уже реальность.
|
|
|
|
|
|
|
|
4.10.2009, 15:05
|
старожил экс-модератор согласный инженер дед Иван
Группа: Участники форума
Сообщений: 44952
Регистрация: 23.11.2004
Из: Москва
Пользователь №: 273

|
Цитата(HeatServ @ 4.10.2009, 15:41) [snapback]441579[/snapback] И значит для разъяснения принципа работы системы из поста 394 необходимо привлечение специалистов из НИИ и ВУЗов? Если так, то Западный Китай уже реальность. Дык сие, как и нахождение на форуме хобби. А Китай или кто то другой близок по другим дисциплинам, не техническим.
|
|
|
|
|
|
|
|
4.10.2009, 15:23
|
Группа: Участники форума
Сообщений: 20930
Регистрация: 8.8.2007
Из: Vilnius
Пользователь №: 10542

|
Цитата(Vano @ 4.10.2009, 15:05) [snapback]441583[/snapback] Дык сие........хобби. +1 И должно доставлять удовлетворение. Для того и живём.....
|
|
|
|
|
|
|
|
4.10.2009, 17:43
|
Группа: Участники форума
Сообщений: 37
Регистрация: 2.11.2008
Пользователь №: 24825

|
Цитата(Владимир Борисович @ 4.10.2009, 13:06) [snapback]441564[/snapback] Знаете ли Вы, что во многих первых отопительных котлах, как паровых,так и водяных колосники были полые, заполненные водой, которые сообщались с емкостью котла.Считалось,что это повышает КПД котла.Лет 20 продержались. Применяется до сих пор в стальных котлах кустарного изготовления. На счет КПД не знаю, но колосников хватает на весь срок службы котла.
|
|
|
|
|
|
|
|
4.10.2009, 17:58
|
Группа: Участники форума
Сообщений: 37
Регистрация: 2.11.2008
Пользователь №: 24825

|
Цитата(Владимир Борисович @ 3.10.2009, 23:36) [snapback]441521[/snapback] Может это поможет. Однотрубная система с регулированием протока через радиатор . Скорее всего такой вариант подключения радиаторов был предложен как чьё-то ноу-хау. При насосной циркуляции работать будет, а при естественной с трудом . Связано это с тем , что горячий теплоноситель при естественной циркуляции с трудом выдавливает вверх холодный .
Сообщение отредактировал promgaz - 4.10.2009, 18:14
|
|
|
|
|
|
|
|
6.10.2009, 15:02
|
Группа: Участники форума
Сообщений: 33571
Регистрация: 4.12.2006
Из: 97
Пользователь №: 5032

|
Хм. Во какой хитрый путь проникновения на форум есть.
Все одно чего то, не моделируется ситуация при которой необходима такая обвязка ОП.
|
|
|
|
|
|
|
Гость_Владимир Борисович_*
|
6.10.2009, 19:15
|
Guest Forum

|
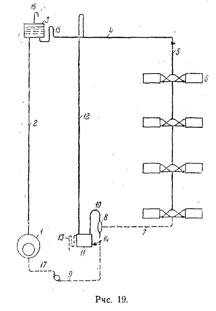
Похоже заработало. Я не автор этой системы, как Вы понимаете. Попробую описать ее"по автору", но только коротенько, а то она на два листа расписана. Все значительно прозаичней, чем Вы думаете. Итак, в целях уменьшения емкости воздушного резервуара 11 и облегчения удаления воздуха из системы, особенно при ее наполнении водой,присоединение нагревательных приборов к питательным трубопроводам осуществляется таким образом,что при опрожнении системы будет сливаться в резервуар только вода,заполняющая разводящие трубы и стояки.Приборы при этом останутся заполненными водой.Исходя из соображений улучшения теплопередачи нагр. приборов присоединение их принято через нижнюю радиаторную футорку, с отводом воды через верх прибора. Движение воды в безнапорной системе происходит за счет использования потенциальной энергии воды, сообщенной ей при подъеме насосом в высшую точку системы, проточно-расширительный сосуд.Скорость падения (движения) воды находится в прямой зависимости от величины потенциальной энергии. После удаления воды система частично заполняется воздухом из водовоздушного резервуара, а потому во избежание его утечки в атмосферу на участке трубопровода установлен гидрозатвор 15.Для избежания опорожнения расширителя при остановке насоса 9 установлен обр.клапан 17. Трубка 12 предназначена для присоединения резервуара 11и соединения его с атмосферой. 8, это расширитель для отбора воздуха из системы. Что бы расширитель не опорожнялся при сливе системы установлен гидрозатвор 15.При новом пуске вода из резервуара 11, после опрожнения системы при открытой задвижке 14 перекачивается в нее насосом и воздух будет возвращен снова в резервуар 11. Вот примерно такая городьба.Сейчас передам еще одну схему обвязки, но попроще.
|
|
|
|
|
|
|
|
6.10.2009, 19:25
|
Группа: Участники форума
Сообщений: 33571
Регистрация: 4.12.2006
Из: 97
Пользователь №: 5032

|
Завтра подумаю, чет сегодня в голову ничего нетупое не лезет.Кроме как- а Маевский еще свой кран не придумал, вот и бодяжили. Но это не к месту будет, кажется.  Канительно схему сделали,хлопот многовато.
|
|
|
|
|
|
|
Гость_Владимир Борисович_*
|
6.10.2009, 21:59
|
Guest Forum

|
Ну ИНЖ, голова! Почти точно определил смысл этой системы. Воздух в этой системе, при опорожнении уходит в трубы системы, а при пуске возвращается в водовоздушный бак. Т.е в системе находится один и тот же воздух, подсоса нет. Тогда считалось, что такой "отработанный воздух" не будет создавать корозийных процессов в трубопроводах и удалять его нельзя, поэтому и радиаторы находились все время под заливом. Такова главная идея этой системы.
|
|
|
|
|
|
|
|
6.10.2009, 22:12
|
Группа: Участники форума
Сообщений: 33571
Регистрация: 4.12.2006
Из: 97
Пользователь №: 5032

|
Когда перекрестье труб, то верхушка прибора все одно завоздушится, там отметка выше чем у пробки прибора. Тот что на рис в посте 386 там еще както вот получиться.А с перекрестьем не совсем эргономично что ли. Хотя Сканави как то вот тоже обходил этот "воздух" в СО, не расшифровывая подробно. Вот мол водород и кислород и содержание его в % , как у воды и вобщем нехороший газ для пожара. И на этом как то вот исчерпывалось упоминание.А чего это вода на них взяла и разложилась(возогналась, расслоилась, как угодно)? А мож азотом иль каким инертным газом заполнять СО при опорожнении?
|
|
|
|
|
|
|
Гость_Владимир Борисович_*
|
6.10.2009, 22:30
|
Guest Forum

|
А сейчас как обещал. Попробуйте прокоментировать работу такой кажется знакомой системы,повнимательней посмотрите.
Эскизы прикрепленных изображений
|
|
|
|
|
|
|
|
6.10.2009, 22:37
|
Группа: Участники форума
Сообщений: 33571
Регистрация: 4.12.2006
Из: 97
Пользователь №: 5032

|
Эт любимый приборный узел Мэтра.Хоть и нипель не упоминал он.И без него нормально тоже.
|
|
|
|
|
|
|
|
7.10.2009, 8:28
|
Не по вкусу пряник, не по чину мундир.
Группа: Участники форума
Сообщений: 50503
Регистрация: 24.4.2009
Пользователь №: 32666

|
Цитата(инж323 @ 6.10.2009, 23:12) [snapback]441703[/snapback] А мож азотом иль каким инертным газом заполнять СО при опорожнении? Вот как-то так вероятно и задумывалось. А иначе не комильфо. Система безусловно геморройна, и сама идея не сливать с приборов не до конца раскрыта, неплохо бы ещё предусмотреть возможность слива отдельного прибора без слива всей системы. И без НИИ не разобраться, это тут Вано оказался прав.
|
|
|
|
|
|
|
|
7.10.2009, 8:34
|
Не по вкусу пряник, не по чину мундир.
Группа: Участники форума
Сообщений: 50503
Регистрация: 24.4.2009
Пользователь №: 32666

|
Цитата(Владимир Борисович @ 6.10.2009, 23:30) [snapback]441709[/snapback] А сейчас как обещал. Попробуйте прокоментировать работу такой кажется знакомой системы,повнимательней посмотрите. Трёхходовик позволяет переводить прибор между режимами "проточный" и "однотрубного присоединения"? В случае с проточным всё ясно вроде, неясно по каким признакам определить наличествует ли ниппель...
|
|
|
|
|
|
|
Гость_Владимир Борисович_*
|
7.10.2009, 18:07
|
Guest Forum

|
В дореволюционные годы системы отопления монтировались в домах состоятельных людей с богатой отделкой интеръеров и необходимо было вписать в него радиаторы,которые были в то время дисонансом для помещений. Заводчики братья Кертинг вместе с монтажом систем предлагали некий дизайн помещений и выполняли его. Посмотрите как это было. 1913год.
Эскизы прикрепленных изображений
|
|
|
|
|
|
|
Гость_Владимир Борисович_*
|
7.10.2009, 20:45
|
Guest Forum

|
Предвестники радиаторов. Изделия заводов братьев Кертинг. 1885год.
Эскизы прикрепленных изображений
|
|
|
|
|
|
|
|
7.10.2009, 21:03
|
Группа: Участники форума
Сообщений: 95
Регистрация: 24.7.2009
Из: херсон
Пользователь №: 36488

|
При варианте Б) будет однозначно перекос температуры по радиатору!!! нижний левый (слева) угол радиатора будет холодным!!!
|
|
|
|
|
|
|
Гость_Владимир Борисович_*
|
8.10.2009, 13:39
|
Guest Forum

|
"Балансировочник" ручной. 1934год. "Урегулировка осуществляется монтером, при пробном пуске системы, и при открытых полностью кранах. Предназначен для устройства правильной циркуляции воды по кольцам всех нагревательных приборов. Является искусственным сопротивлением снижающим скорость,а значит и количество протекающей воды.Для большего изящества существуют специальные американские фасонные части, имеющие вполне удовлетворительный внешний вид.
Прикрепленные изображения
|
|
|
|
|
|
|
|
8.10.2009, 13:51
|
Группа: Участники форума
Сообщений: 10258
Регистрация: 8.3.2007
Пользователь №: 6446

|
сообщения 386 и 394 прокомментированы как: " что при опрожнении системы будет сливаться в резервуар только вода,заполняющая разводящие трубы и стояки.Приборы при этом останутся заполненными водой.Исходя из соображений улучшения теплопередачи нагр. приборов присоединение их принято через нижнюю радиаторную футорку, с отводом воды через верх прибора." Так, возможно, удобно в "коттеджном димике" (уникальный заказной индивидуальный проект в одном экземпляре под "клиента") и имея ценность "антифриз" (приборы не разморозишь ) или для целей "аккуратной эксплуатации". При этом нужна подробная инструкция по "эксплуатации" системы, так как "сто пудёв" автор не есть владец. Там прописано для "обслуги" как экстренно "опорожнить" подводящие вертикальные трубы конкретного "стояка" и оставить приборы "непорожними" (упрощается восстановление работоспособности - быстрый "запуск") или опорожнить их на нужном этаже. Остальные "ждут" конца ремонта и готовы работать враз (заполнены и в них нет воздуха). Все работы можно производить аккуратно, чисто, быстро. Не пакостничать чтоб в комнатах "дяде Васи - умельца на все руки". Такова, возможно, скрытая цель такого "инженерного решения." Справедливо было иметь и этот "побочный эффект" для "перекрестного": Исходя из соображений улучшения теплопередачи нагр. приборов присоединение их принято через нижнюю радиаторную футорку, с отводом воды через верх прибора. "нипель глухой" идея не совсем понятна и "что это дает мужику" не ясно. Ускорить прогрев приборов и приблизить время входа системы в "стационарный режим"? " И без НИИ не разобраться, это тут Вано оказался прав." К текущей работе можно относиться по разному - у кого как случилось: - как способ зарабатывать деньги на жизнь
- как хоби, которое дает побочный эффект - деньги на жизнь.
ПС. инженеров стало так много, что "инженерного хоби" подобного уже не хватит и на 0.001% от их численности. Возможно, потому они (такого класса хобщики) на сегодня и "вымерли как мамонты".
Сообщение отредактировал Kult_Ra - 8.10.2009, 14:02
|
|
|
|
|
|
|
Гость_Владимир Борисович_*
|
8.10.2009, 14:45
|
Guest Forum

|
Для тех насосных систем еще одна проблема существовала, нестабильная подача электроэнергии, 30е годы.Вот почему они так тяжело приживались. Возможно и опорожнение систем именно такое, с этим тоже связано.
|
|
|
|
|
|
|
  |
4 чел. читают эту тему (гостей: 4, скрытых пользователей: 0)
Пользователей: 0
|
|
Реклама
ООО «Арктика групп» ИНН: 7713634274 | erid 2VtzqvpbUMg
ООО «УНИСПЛИТ» ИНН: 6453155081 erid:2VtzqxNcYBM
Реклама: ООО «СЛ-ЛАЗЕР» ИНН 7727447267 | erid: 2VtzqvEDgM7

Реклама: ООО «Зет-Логист» ИНН 5401982392 | erid: 2Vtzqw44UH9
Последние сообщения Форума
|