|
  |
Удивительная система отопления, Одно-, двухтрубные системы (это может быть интересно) |
|
|
|
|
16.10.2009, 13:50
|
Не по вкусу пряник, не по чину мундир.
Группа: Участники форума
Сообщений: 50504
Регистрация: 24.4.2009
Пользователь №: 32666

|
Цитата(Машинист @ 16.10.2009, 14:41)  и политические всякие аспекты. - Что Вы Маевский такое принесли? - Кран. - Просто кран? Кранов у меня и так хватает! Как называется эта Ваша антисоветчина? - Я назову его "Кран Маевского". Это будет очень востребованая вещь. - Сколько же вас развелось, вот тут товарищ Чаплин уверял меня, что элеваторы будут стоять в нашей стране чуть ли не до 2000 года, помыслить страшно, зачем при коммунизме элеваторы? Изобретатели, ужо я вас....
|
|
|
|
|
|
|
Гость_Владимир Борисович_*
|
16.10.2009, 14:23
|
Guest Forum

|
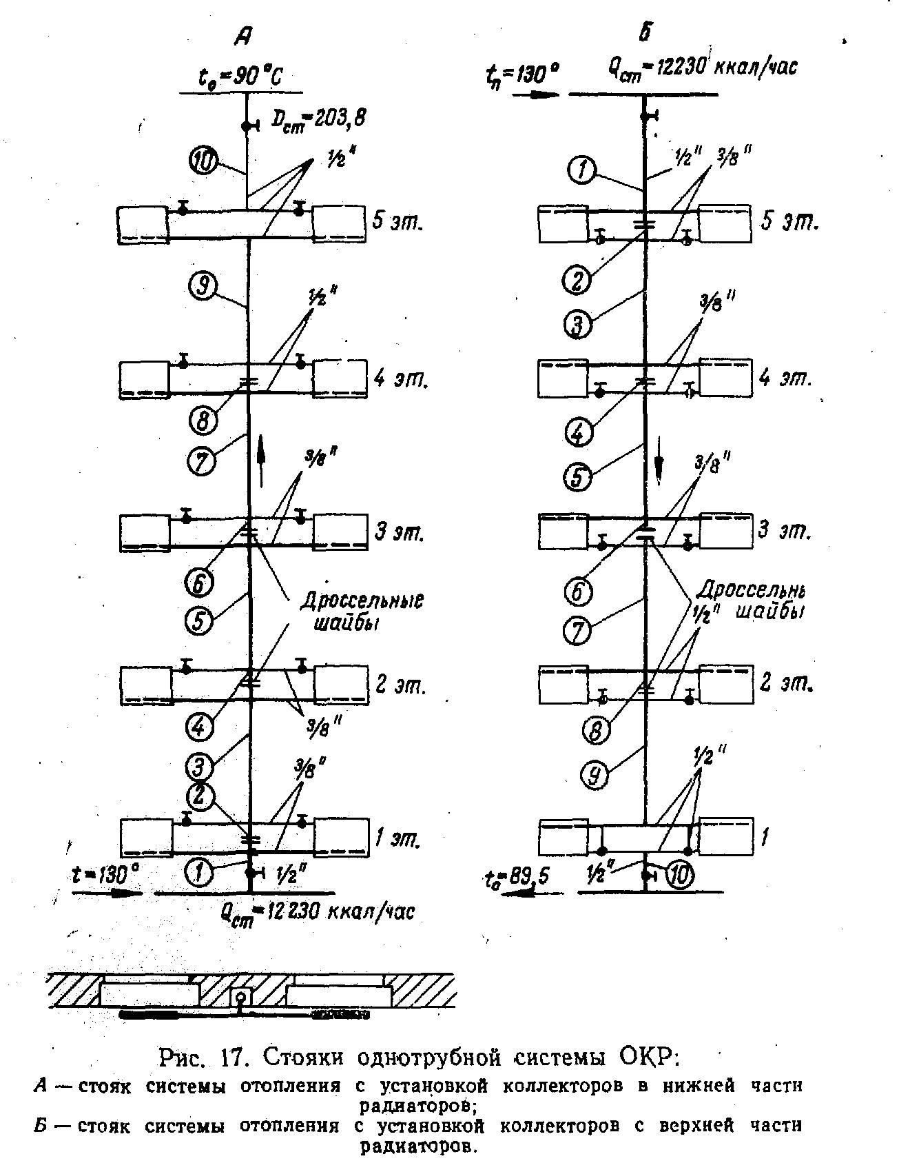
Посмотрите схему системы однотрубной ОКР. Я похож на Деда Мороза, из мешка подарки достаю и молодею вместе с Вами.
Эскизы прикрепленных изображений
|
|
|
|
|
|
|
Гость_Владимир Борисович_*
|
16.10.2009, 18:30
|
Guest Forum

|
Забыл добавить. По системе ОКР есть схема с горизонтальной разводкой, с расположением магистрали в полу, есть вариант работы такой системы от местной котельной на параметрах 115\70, с подачей воды по схеме снизу-вверх.Так для воды имеющей температуру 115гр., необходимо иметь давление 0,8ати.Таким образом эта система отопления может использоваться для зданий имеющих три и более этажей.
|
|
|
|
|
|
|
Гость_Владимир Борисович_*
|
17.10.2009, 11:07
|
Guest Forum

|
Еще одна работа Ч.Б.Маевского. Клупп для нарезки резьб на трубах мелких диаметров.В клуппе установлена разрезанная пополам лерка с регулировочными винтами 5 , что значительно облегчает ручную нарезку резьбы, которая осуществляется в два прохода.Клупп номер 1 нарезал резьбы 1\2 и 3\4 дюйма и весил 3,2кг, номер 2 нарезал резьбы 1 и 11\2 дюйма, весил 5,2кг, клупп номер 3 нарезал резьбы 2 и 2 1\2 дюйма и весил 8кг.Клупп был снабжен направляющим фланцем. Клупп "Дуплекс", в одном корпусе он нарезал резьбы шести размеров. В нем были выдвижные сменные плашки, имелось устройство для регулировки размера нарезаемых резьб.Вес этого клуппа 8кг.
Эскизы прикрепленных изображений
|
|
|
|
|
|
|
Гость_Владимир Борисович_*
|
17.10.2009, 13:38
|
Guest Forum

|
Уважаемые господа проектировщики! Попробуйте обьяснить способ присоединения стояка отопления к верхней магистрали показанный на рисунке.
Эскизы прикрепленных изображений
|
|
|
|
|
|
|
|
17.10.2009, 14:40
|
Группа: Участники форума
Сообщений: 10258
Регистрация: 8.3.2007
Пользователь №: 6446

|
Кроме "самокомпенсация" ничего на ум не пришло.
|
|
|
|
|
|
|
Гость_Владимир Борисович_*
|
17.10.2009, 15:41
|
Guest Forum

|
Простите Культ Ра, но Вы не правы.
|
|
|
|
|
|
|
|
17.10.2009, 16:14
|
Группа: Участники форума
Сообщений: 33571
Регистрация: 4.12.2006
Из: 97
Пользователь №: 5032

|
Другое соотношение КМС в тройнике.Да и судя по Ф этой магистрали(ф15) скорость весьма неплохая и при ней кмсы весьма варьируемы.
|
|
|
|
|
|
|
Гость_Владимир Борисович_*
|
17.10.2009, 16:25
|
Guest Forum

|
Простите ИНЖ,но Вы тоже неправы. Все несколко прозаичней, годы то были 30е, попробуйте заглянуть в трубу.
|
|
|
|
|
|
|
Гость_exelente_*
|
17.10.2009, 16:28
|
Guest Forum

|
Какое направление потока по горизонтальному участку? Сколько этажей внизу? Сколько таких стояков далее по направлению движения?
Сообщение отредактировал exelente - 17.10.2009, 16:30
|
|
|
|
|
|
|
|
17.10.2009, 21:01
|
Эко Интегратор Всея Руси
Группа: Участники форума
Сообщений: 12295
Регистрация: 14.1.2008
Из: Архангельск
Пользователь №: 14438

|
Какие-то тонкости, с монтажом связанные. Отыграть 10-15 мм туда-сюда. Предположение такое.
|
|
|
|
|
|
|
Гость_exelente_*
|
17.10.2009, 21:35
|
Guest Forum

|
Ладно. раз никто не отвечает. Предположу. Оно так сделано, чтобы грязь вниз оседала.
|
|
|
|
|
|
|
|
17.10.2009, 22:48
|
Группа: Участники форума
Сообщений: 4383
Регистрация: 14.11.2006
Пользователь №: 4724

|
Такое соединение видел только когда нужно было избежать взаимного запирания потоков, тут явно другое что-то. Может сложно варить трубы под потолком в традиционном варианте? Сложности монтажа.
|
|
|
|
|
|
|
|
18.10.2009, 10:58
|
Группа: Участники форума
Сообщений: 10258
Регистрация: 8.3.2007
Пользователь №: 6446

|
Прокладка в борозде, соединения все муфтовые, не для самокомпенсации горизонтальных /вертикальных участком, не с целью сменить "тройник на поворот" на "проход". До ещё надо "заглянуть в трубу"! Трудно.
|
|
|
|
|
|
|
Гость_Владимир Борисович_*
|
18.10.2009, 13:49
|
Guest Forum

|
Прошу прощения,задержался с ответом.Из Москвы проектировщики подъехали,подарки привезли. Теперь по теме.Опять прощения прошу,не ругайтесь сильно.Возможно не совсем коректно вопрос я задал.Похоже в связи с этой темой я сам еще в 30х годах нахожусь и для меня это просто и кажется ,что и для всех тоже. Почему я попросил заглянуть в трубу. При увеличении рисунка видны пузырьки воздуха(условно) Система эта с нижней разводкой, а верхние трубы-это воздушные трубы.Петля служит гидрозатвором,при подъеме воды до его уровня трубы сухие, в них воздух,который удаляется вантузом.А потом эти трубы запретили,перерасход. А теперь,знаете ли Вы,что первый трехходовой кран был 32мм, весил 8кг и постоянно пропускал воду, потому,что в нем не было сальника. 1870год. Знаете ли Вы,что впервые в стране система отопления была смонтирована на эпоксидном клее без применения сварки в 1958году, в 5этажном доме в Москве.Около 700 соединений,5 лет контроля температура в системе была от5 до 100гр, и ничего. Знаете ли Вы,что в Австрии есть системы т\снабжения с температурой 220гр, такие системы есть в Карловых Варах, в Братиславе,а в Москве в 1968-74год работала однотрубная т\сеть с температурой воды 200гр.
|
|
|
|
|
|
|
|
18.10.2009, 13:55
|
Группа: Участники форума
Сообщений: 33571
Регистрация: 4.12.2006
Из: 97
Пользователь №: 5032

|
Цитата(Владимир Борисович @ 17.10.2009, 14:38)  Уважаемые господа проектировщики! Попробуйте обьяснить способ присоединения стояка отопления к верхней магистрали показанный на рисунке. ???????????????
|
|
|
|
|
|
|
|
18.10.2009, 15:46
|
Группа: Участники форума
Сообщений: 10258
Регистрация: 8.3.2007
Пользователь №: 6446

|
Учитывая пост Инж323 и далее "тю-тю логики": При увеличении заметны штрихи - "искажения качества"? Зачем для воздушной трубки тройник? Что бы часть воздуха "налево" блатным, а часть в правую, в вантуз? " Петля служит гидрозатвором" - где ж там "петля?"  Не наблюдаю. Конечно же - "вантуз и такие трубы" в бороздах ! и дешевле и "красивше" с "Маевским" на вернеэжтажных радиаторах [даже я это понимаю!]
Сообщение отредактировал Kult_Ra - 18.10.2009, 15:49
|
|
|
|
|
|
|
Гость_Владимир Борисович_*
|
18.10.2009, 19:20
|
Guest Forum

|
Станок для гибки труб без набивки песком 1909год. Автор профессор А.Н.Сидоров, написавший монографию "Трубы и их соединения". Станок монтера Ф.И.Вольнова 1929год. Ручной трубогиб "Максимум" 1931год.
Эскизы прикрепленных изображений
|
|
|
|
|
|
|
Гость_Владимир Борисович_*
|
19.10.2009, 18:47
|
Guest Forum

|
Для исключения элеватора при высокотемпературном теплоснабжении была разработана система,в которой узел ввода выполнен с теплообменником, где в греющем контуре охлаждается высокотемпературная вода, напрввляемая в одну половину системы,а в охлаждающем контуре вода подогревается перед подачей во вторую половину системы. Впервые такая система предложена А.И.Михайловым,а впоследствии использована в проектах МНИИТЭП(гор.Москва).Наиболее полно исследовал эту систему В.Н.Колчин, решивший задачу присоединения к тепловой сети малоэтажных домов,для которых нельзя подобрать стандартный элеватор. Решил эту задачу Н.Т.Ральчук который предложил элеваторную систему с двумя перепадами температур. Вот отсюда и вопрос на форум.Что же это за элеваторная система с двумя перепадами температур? Мои поиски пока результата не дали.Книга Н.Т.Ральчука "Отопление и вентиляция гражданских зданий" у меня есть , но год издания 1957й. гор.Киев. На эту тему там ничего нет. Очевидно более поздние издания нужно искать.Если кто, что знает, подскажите.
|
|
|
|
|
|
|
|
19.10.2009, 20:40
|
Группа: Участники форума
Сообщений: 10258
Регистрация: 8.3.2007
Пользователь №: 6446

|
"элеваторная система с двумя перепадами температур" Предположение. Возможно это было уже как "продолжение идеи", в те времена, когда имели место "системы с предвключением лестничных клеток". Коэф. смешения надо было назначить на 105°С после элеватора и надо пропустить такой теплоноситель через лестничные клетки здания, подобрав поверхность ОП в них так, что бы после них было уже 95°С. После примерно с 1985 года таких систем уже не помню.
ПС. В производственных могли были устроены безэлеваторные системы последовательно соединенные по теплоносителю (серия А3-694 Сантехпроет, Москва, 1975).
Сообщение отредактировал Kult_Ra - 19.10.2009, 20:41
|
|
|
|
|
|
|
Гость_Владимир Борисович_*
|
19.10.2009, 21:09
|
Guest Forum

|
Я вот тоже предполагаю, что речь идет о какой-то последовательности присоединения, поскольку видно стремление получить теплоноситель более высокой температуры, но при этом и соблюсти "правила". Даже есть предположение, что было два элеватора и две системы или подсистемы, может быть система разбитая пополам и обратная от первой возвращалась во второй элеватор для подсоса и подачи во вторую часть системы. Если эти предположения верны, то в чем смысл тогда.Экономия в чем? Копать нужно глубже.Но главное в том,что я процитировал отрывок из книги В.Ф.Гершковича, но его работы начались с 70х годов.Да и знаком я был с ним,хотя и шапочно.В 1976году познакомились на совещании в Уфе, и приезжал он ко мне на монтаж и пуск системы с регенерацией тепла в 1980году, советы давал по своей системе. Я это к тому, что эти два элеватора или как их там, родились где-то в в 70-80х годах, очевидно там и искать их надо. Буду искать.
|
|
|
|
|
|
|
|
20.10.2009, 7:24
|
Группа: Участники форума
Сообщений: 10258
Регистрация: 8.3.2007
Пользователь №: 6446

|
"обратная от первой возвращалась во второй элеватор для подсоса" - не реально - где уже без доп насоса взять напор для "инжекции"? Так будет только общее "удорожание" во имя идеи. Кроме "лестничных" клеток реально в массовой застройке жильём устроить "каскад температурный" вроде негде. Киевляне вместо стандартного "водоподогревателя" предлагали подобное решение как просто "труба в трубе" (и была издана соответствующая "Методика")
Сообщение отредактировал Kult_Ra - 20.10.2009, 7:24
|
|
|
|
|
|
|
Гость_Владимир Борисович_*
|
20.10.2009, 8:18
|
Guest Forum

|
Для больших домов возможно применен именно этот способ, но сильно при этом смущает фраза о В.Н.Колчине. Что же тогда сделал этот самый В.Н.Колчин, решивший задачу присоединения к тепловым сетям малоэтажных и одноквартирных домов к которым нельзя подобрать элеватор. Он то как-то погасил и напор и температуру.
|
|
|
|
|
|
|
|
20.10.2009, 13:06
|
Группа: Участники форума
Сообщений: 10258
Регистрация: 8.3.2007
Пользователь №: 6446

|
В 1986 году СоюзСантехпроектом (но они занимались только пром.проектированием!) было издана "Методика" проектирования систем отопления от теплосети с применением насоса ЦВЦ и регулятора температуры ТРК-2216-ДП (ТС). При зависимом с помощью регулятора ТРК-2216 путем изменения соотношения сетевой и подмешиваемой насосом ЦВЦ из обратного системы отопления. Потом можно было выполнять "ступенчатое по температуре" решение по зданию. Как и с одним элеватором.
ПС. Отопление гражданских зданий, естественно, СоюзСантехпроектом не касались, у меня не "собиралось", да из "было", мало чего сохранилось (морально-то устаревало).
|
|
|
|
|
|
|
Гость_Владимир Борисович_*
|
20.10.2009, 16:04
|
Guest Forum

|
Система отопления с использованием полного температурного перепада т\сетей. Автор В.Ф.Гершкович. Он написал в своей статье, что решения В.Н.Колчина и Н.Т.Ральчука подтолкнули его к созданию такой системы.Какие это были решения в статье не говорится, и поиск пока результатов не дал. Система СРТ(ступеньчатая регененерация тепла). Вариант с независимым присоединением к тепловой сети. Может быть оборудована в зданиях повышенной этажности. Более ее высокий потециал в варианте "б" когда насос установлен в системе, в отапливаемом помещении.
Эскизы прикрепленных изображений
|
|
|
|
|
|
|
Гость_Владимир Борисович_*
|
20.10.2009, 21:55
|
Guest Forum

|
Система отопления СРТ с полузависимым присоединением к тепловой сети.Кстати Гешкович расказывал ,что его системы легко подвержены реулировке, особенно пофасадной. Система под индексом "б" получила название "Вертикаль". Полузависимые системы обладают большой эфективностью,меньшение или полное исключение затрат на циркуляцию местной воды, возможность полного использования теплового потенциала с охлаждением ее до расчетной-70гр. Значительно меньшая металоемкость нижней подсистемы, трубопроводы которой можно расчитывать на предельные скорости, за счет разницы давлений в тепловой сети.
Эскизы прикрепленных изображений
|
|
|
|
|
|
|
Гость_Владимир Борисович_*
|
21.10.2009, 13:37
|
Guest Forum

|
Расчетная схема системы СРТ (пример).
Эскизы прикрепленных изображений
|
|
|
|
|
|
|
Гость_Владимир Борисович_*
|
21.10.2009, 18:39
|
Guest Forum

|
Первый советский конвектор. 1949 год. Внутри оребренный прибор типа "Комфорт". Высокий кожух выполнен для повышения интенсивности конвекции. При подаче теплоносителя 130\70 теплотдача прибора возрастала почти вдвое.
Эскизы прикрепленных изображений
|
|
|
|
|
|
|
Гость_Владимир Борисович_*
|
22.10.2009, 19:07
|
Guest Forum

|
Казалось бы, что здесь приведены обычные однотрубные схемы систем отопления. Однако при внимательном расмотрении под пунктом "в" и под пунктом "д" на стояках осуществлены перемычки между подающим и обратным стояками. Попробуйте объяснить их появление и предназначение на данной системе. 1966год.Схема Д.А.Гомберга, авт. свид. от 1966 года.
Эскизы прикрепленных изображений
|
|
|
|
|
|
|
|
22.10.2009, 19:35
|
Группа: Участники форума
Сообщений: 10258
Регистрация: 8.3.2007
Пользователь №: 6446

|
Т-образные стояки с ТХК (расчётный режим - проточный). Обычно "подъёмная" часть не нагружена, а "опускная" самостоятельно врезается в обратную межстояковую магистраль. Здесь на подъеме подвешены приборы ("в") или полотенцесушители ("д"). "Перемычка" здесь соединяет "опускные" части Т-образного стояка, чтоб подключиться уже "одной" врезкой.
Больше я ничего не заметил. Увы.
|
|
|
|
|
|
|
  |
1 чел. читают эту тему (гостей: 1, скрытых пользователей: 0)
Пользователей: 0
|
|
Реклама
ООО «Арктика групп» ИНН: 7713634274 | erid 2VtzqvpbUMg
ООО «УНИСПЛИТ» ИНН: 6453155081 erid:2VtzqxNcYBM
Реклама: ООО «СЛ-ЛАЗЕР» ИНН 7727447267 | erid: 2VtzqvEDgM7

Реклама: ООО «Зет-Логист» ИНН 5401982392 | erid: 2Vtzqw44UH9
Последние сообщения Форума
|