да. развёртки есть.
прилеплю файл расчета, может надо кому. (вичисляю кривую в экселе и макросом по координамам переношу кривую в автокад, потом печатаю и на производство)
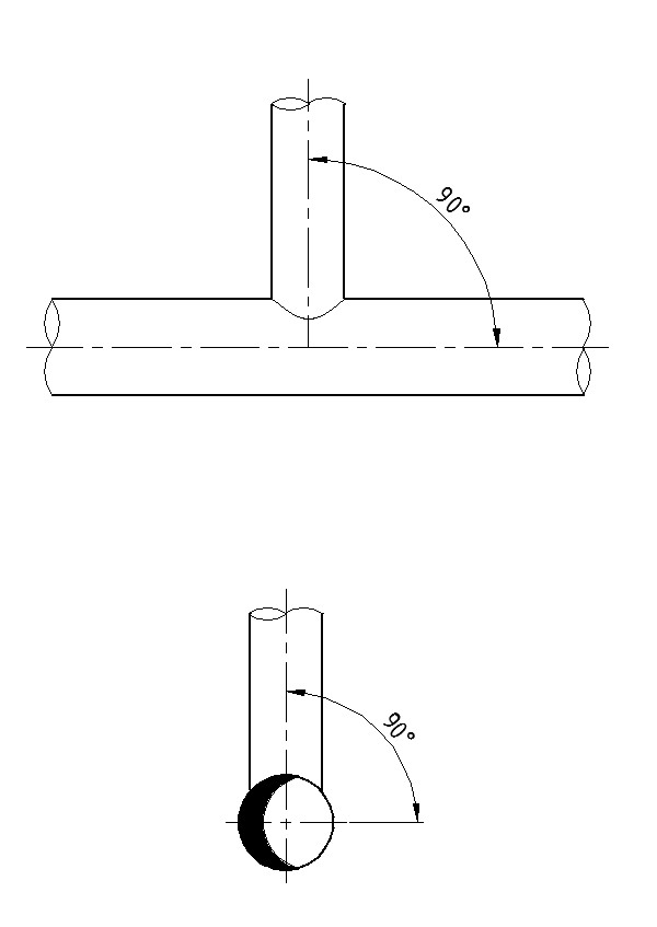
Вопрос в перпендикулярности врезки в плоскости оси трубы и в плоскости и в плоскости перпендикулярной оси турбы... см. рис. Второй рис кажется бесполезным (типа ось основной трубы можно повернуть как надо, но это до того момента, когда на ней ничего нет. если на ней хоть с одной стороны уже есть например фланец, то надо точно выдерживать)
Вчера полазал по нету и нашел вот такое -
http://www.ridgitool.com/ridgid-tools-vise...pe-welding.htmlбудем кулибничать, если окажется дорого у этих товарищей.
так же по этому профилю врезки. раньше, когда работал на заводе и делали врезки по месту, вырез в трубе делали газом... соответственно, если говорить про точность прилегания (мол выпилил по развёртке паз, прижал этот паз к основной трубе и на тебе перпендикулярность) то она (точность) просто никакая.
А чем ещё делаете эту выемку? Причем если это делать более ли мене в промышленном масштабе? была мысль купить агрегат плазменной резки, и им по шаблонам резать. И точнее, и быстрее но дорого

Кто как делает?
Сообщение отредактировал ssn - 13.9.2012, 8:21
Эскизы прикрепленных изображений
Прикрепленные файлы
graf.xls ( 44,5 килобайт )
Кол-во скачиваний: 840