Цитата(selbultekov @ 12.2.2020, 12:03)

Добрый день.
Произвели монтаж системы отопления: однотрубная, отопительные приборы - конвектора. На стояках установлены неподвижные опоры.
Экспертиза говорит, что стояк смонтирован не правильно, приборы установлены не верно - не посередине оконного проема.
Отправляясь к нормативной литературе нашел следующее.
_________________________________________________
СП 60.13330.2016 Отопление, вентиляция и кондиционирование воздуха
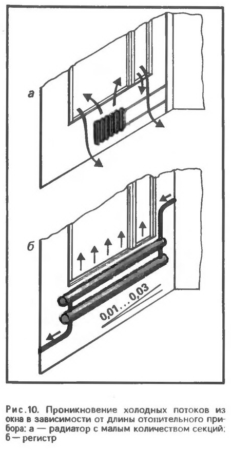
6.4.4. Отопительные приборы следует размещать под световыми проемами в местах, доступных для осмотра, ремонта и очистки.
Длину отопительного прибора следует определять расчетом и принимать не менее 75% длины светового проема (окна) в больницах, детских дошкольных учреждениях, школах, домах для престарелых и инвалидов, и 50% - в жилых и общественных зданиях.
_________________________________________________
СП 73.13330.2016 Внутренние санитарно-технические системы зданий
6.4.6. При установке отопительного прибора под окном его край со стороны стояка не должен выходить за пределы оконного проема. При этом совмещение вертикальных осей симметрии отопительных приборов и оконных проемов необязательно.
6.4.7. В однотрубной системе отопления с односторонним присоединением отопительных приборов открыто прокладываемый стояк следует располагать на расстоянии (150±50) мм от кромки оконного проема, а длина подводок к отопительным приборам должна быть не более 400 мм». Подводки системы отопления установлены правильно.
________________________________________________
Вопрос такой. Из СП 73 пункт 6.4.7 говорит нам о том, что подводки к приборам не должны быть более 400 мм. Однако в СП 60 говориться о том, что прибор должен был быть расположен посередине.
В итоге, можно ли сослаться на пункт 6.4.7 и не укажет ли эксперт пункт из СП 60? (в проекте четко не прописано как устанавливать приборы, но исходя из расположения стояка никак не получаеться установить их по центру световых проемов).
А еще в догонку вопрос о несоответсвии пунктов 6.4.7 и 6.4.6 в СП 73 (так как эти два условия могут пересекаться друг с другом.
Вы, как монтажная организация, при СМР должны придерживаться проекта и действующего СП73.
Когда вы будете проектировать, то будете соблюдать СП60, а при монтаже соблюдайте пока проект и СП73.
Вы не нарушили положений СП73, проект вам выдан с печатью заказчика "в производство работ" и полученным заключением экспертизы о соответствии проекта нормам, правилам и почая.
То, что вам говорит представитель ИГАСНа, то проверка на вшивость как вас, так и заказчика.
Вам по самуй макушку хватит пункта 6.4.6 про допустимость несовпадения осей окна и прибора.
А для истории вопроса- это песни их типового строительства с монтажом отопления из заготовок заводских, где на этаже стояк было три скрутки резьбы(или два стыка сварных) + два стыка на самом этаже и всё И этажестояк готов и пара сварщик слесарь таких в день должна делать 8-10 штук- по колву сделанного за день приезжающий прораб по сантехнике запросто вычислить мог "кто сегодня закосил" или "кого вчера по пьяни не было".
А не типовое монтировали более строго с СП на проектирование и в проекте старались увязать середину окна с серединой ОП, но не типовое жилье было..доступным для ОКСов ХОЗУ Совмина, ЦК, Средмаша и подобные конторы. И с тех самых времен эта некоторая путанность в нормах есть и даже многими подзабылась. Можете еще и глянуть в более предшествующий СНиП 3-28-75, а там про 150мм тоже путанно написано, но так же оси окна и ОП могут не совпадать. Да и вам с какой стороны от прибора желателен поток небольшой стекающего холода с поверхности окна? С лева или справа? ОП все равно короче окна, даже при Rтр. стен тогда около 1.0, а не нынешних 3 с хвостом. Не соблюсти вам так что б и оси совпали.
Тк что спокойно , у вас нет нарушения норматива- все с нормами для вас написанными соответствует и с проектом. А проект с соответствием проверен Экспертизой и не инспектору ИГАСНа выдвигать требования к проекту монтажникам. Дайте КП на перемонтаж заку и оси станут совпадать, а зак еще и штраф заплатит за срыв сроков сдачи и город своему ИГАСНу скажет неприятно за срыв сдачи городом квадратных метров жиль- это и города показатели тоже.
Но, есть нюанс. Вы деликатно говорите, что выполнено согласно полученног проекта и СП 73 и далее ни в какие рассуждения ни с кем не вступаете, не ищите новых врагов.Деликатно, обращаю внимание!!! А про КП только наедине заку говорите, без посторонних. А автор ОВ сам отшивать должен инспектора и он то скорее уже подписал вам Акты для приемочной комиссии и потому, пусть хлеб отрабатывает. Его подпись в них говорит о том, что у вас все правильно и как было задумано.А собственно и у автора ОВ тоже нет нарушения, как такового и всё для инспектора кончится пшиком- верней, он дал замечание, его сняли, вот она проведенная всеми работа и все молодцы. или вы хотите найти себе не снимаемых замечаний к монтажу?