Помощь - Поиск - Пользователи - Календарь
Полная версия этой страницы: Установка наружного датчика
Диалог специалистов АВОК > ОБЩИЙ ФОРУМ > Отопление
Страницы: 1, 2
alsem
Наружный датчик погодозависимого контроллера устанавливаем на северном фасаде здания, в местах ...............далее по тексу инструкции...........
А вплотную к стене, устанавливаем датчик? Или лучше с отступом(зазором) от стены?
Озадачился этим вопросом, наблюдая за уличным термометром. Понятно, что уличный термометр, уже установлен с "нарушениями" - около окна и врёт на пару-тройку градусов.
Получился вопрос: датчику нужна температура "прилегающего" к зданию воздуха, или как?
Спасибо.
arkt2006
Датчик нужно устанавливать на растоянии минимум 0,5 метра от стены(чем дальше тем лучше), сверху нужен козырёк, и боковые стенки, прикрывать от нагрева солнцем.
alsem
Цитата(arkt2006 @ 23.2.2010, 20:46) *
Датчик нужно устанавливать на растоянии минимум 0,5 метра от стены(чем дальше тем лучше), сверху нужен козырёк, и боковые стенки, прикрывать от нагрева солнцем.

От солнца он защищён. Северным фасадом. Датчик ещё называется атмосферным. Но (по памяти) в мануалах показана установка именно на стене. Получается что датчик передаёт информацию даже не о состоянии "прилегающего" воздуха, а о состоянии "прилегающего" воздуха с поправкой в сторону температуры поверхности наружной огр.конструкции. Не получается так, что датчик - говорит об одном, а прошивка контроллера - о другом? И какой параметр заложен в эту прошивку? Параметр атмосферы, или "прилегающего" воздуха с поправкой в сторону температуры поверхности наружной огр.конструкции?
Про пол-метра, это из требований производителей?
jota
Наружные датчики в корпусе для настенного монтажа. ....... designed for wall mounting.
От стены сам чувствительный элемент находится на расстоянии. Стена на элемент существенного влияния не оказывает......
alsem
Понятно.
Тогда от пост-3, остаётся:
Получается что датчик передаёт информацию о состоянии "прилегающего" воздуха. Не получается так, что датчик - говорит об одном, а прошивка контроллера - о другом? И какой параметр заложен в эту прошивку? Параметр атмосферы, или "прилегающего" воздуха?

Ведь разница между температурой атмосферы и температурой "прилегающего" воздуха, может быть существенной?

huh.gif Надо понять. А то - бессонница гарантирована. blink.gif
jota
Цитата(alsem @ 23.2.2010, 20:34) *
Ведь разница между температурой атмосферы и температурой "прилегающего" воздуха, может быть существенной?
huh.gif Надо понять. А то - бессонница гарантирована. blink.gif

Это Ваши домыслы.....
В системах с иерархией регулирования температуры (качественная в ИТП и количественная - термостатные вентили) это вообще не проблема.
В системах без иерархии (только ИТП) - меняется наклон характеристики контроллера на основании измерения температуры контрольного помещения - это для сугубо настырных..... smile.gif
Датчик от стены отделён корпусом и воздушной прослойкой с обоих сторон (корпус датчика имеет шейки в местах присоединения к стене и контакт точечный), кроме этого, через корпус циркулирует "неприлегающий" воздух через перфорации....
И последнее: Вы преувеличиваете значение точности в таких неточных системах.....
Если бессонница мучает, не стоит пенять на стену... laugh.gif
Гена
jota, насчёт перфораций в корпусе датчика наружной температуры вы немного погорячились. Класс защиты IP54 или IP65.
HeatServ
Я думаю, что в условиях климата России вообще не особо важно где стоит датчик. Датчик сам как правило залит довольно монолитно, так что перфорирована ли коробка или нет не так важно. Мы например используем контролллеры которые самообучаются (большинство контроллеров это умеют делать), поэтому вообще не особо нужно знать что снаружи помещения (только для оператора или диспетчера) контроллеру важно только изменение температуры за некоторый промежуток времени, остальное неважно.
coverart
был гимор с установкой датчика наружной температуры северная сторона, козырек, все дела, а пока от стены не отвел на 0,5 метра нормальных показаний небыло, стена фонит теплом!!! Хотя и непонятно как, может лучистым? В вопросе не разбирался, перенес и все тут!!!

HeatServ
А можно поподробней о самообучающихся контроллерах!
alsem
Цитата(jota @ 23.2.2010, 21:56) *
Это Ваши домыслы.....
................................................................................
........................................
И последнее: Вы преувеличиваете значение точности в таких неточных системах.....
Если бессонница мучает, не стоит пенять на стену... laugh.gif



Цитата(HeatServ @ 23.2.2010, 22:45) *
Я думаю, что.....................................................
.......................................................................неважно.


Этт, точно.
Спасибо, господа! rolleyes.gif
ЕСЛИ - усреднённо.
ТО - Спокойной ночи! laugh.gif
HeatServ
Цитата(coverart @ 23.2.2010, 22:53) *
HeatServ
А можно поподробней о самообучающихся контроллерах!

Я к сожалению в этом деле профан. Мне это дело пояснили всего полгода назад коллеги-автоматчики, они там ковыряют глубоко. А контроллеры используем свободнопрограммируемые Saphir, не так много про них информации, да и вообще избыточны они функционально (что заказчику знать совсем не обязательно smile.gif ), на них можно реализовывать всякое-разное, поэтому выбор такой.
Kult_Ra
Цитата(coverart @ 23.2.2010, 22:53) *
был гимор с установкой датчика наружной температуры северная сторона, козырек, все дела, а пока от стены не отвел на 0,5 метра нормальных показаний небыло, стена фонит теплом!!! Хотя и непонятно как, может лучистым? В вопросе не разбирался, перенес и все тут!!!

Здание формирует переменное "тепловое поле". Переменное - то ветер и его направление, то солнце и страны света, то аэродинамическая тень, соседние "постройки далеко/близко и их "поле" и много иной фигни. Градиент поля всегда потому и переменный. Температура помещения плавно переходит/меняется через слои огражд.конструкций, потом с поверхности стены и далее.
На поверхности стены одна, в "2 мм от стены" уже иная.
Поверхность стены тоже реагирует на "изменения", но с запаздыванием. Потому, когда Вы перенесли на "на 0,5 метра", Вы как бы убрали "инерционное" влияние массивности здания. Сократилось тем самым значительно "время реакции".
alsem
Цитата(Kult_Ra @ 23.2.2010, 23:22) *
Поверхность стены тоже реагирует на "изменения", но с запаздыванием. Потому, когда Вы перенесли на "на 0,5 метра", Вы как бы убрали "инерционное" влияние массивности здания. Сократилось тем самым значительно "время реакции".

Из песочницы:
Несколько лет назад, в статье одного уважаемого человека, прочитал, что влажностный режим новой наружной стены может устанавливаться довольно долго, до пяти лет. При условии корректного отопления.
В чём заключается "корректность" режима? В том, чтобы "0" в стене не слишком "гулял"?
Сокращение "времени реакции" полезно ли в плане стабилизации "теплового поля"? После прочтения этой статьи, появилось подозрение, что погодозависимое регулирование даёт экономию энергии и повышает комфорт, в том числе - за счёт создания в наружной стене более-менее стационарного влажностного режима. И что, чем меньше здание, тем больше этот эффект (в процентном отношении).
Или это уже совсем глупость?
В любом случае - ближайшая установка датчика (два шурупа закрутить) - дастся не легко laugh.gif .
Kult_Ra
Цитата(alsem)
влажностный режим новой наружной стены может устанавливаться довольно долго, до пяти лет. При условии корректного отопления.
Может быть или не быть - суждения из серии "куда пушка полетит", а снаряд... не туда, зараза.

Или это уже совсем глупость? Да, но очень контролируемая! А это "круче" самой пушки!

"стационарность режима" - и снег и ветер, и звёзд ночной полёт, и солнце светит и дом мороз неймёт!
Есть овчинка и есть стоимость ее выделки"? Пока пастух ловил блоху на собаке - бараны разбежались! wub.gif
alsem
Цитата(Kult_Ra @ 24.2.2010, 1:01) *
Есть овчинка и есть стоимость ее выделки"? Пока пастух ловил блоху на собаке - бараны разбежались! wub.gif

Из ТСО:
Не скажите, Kult Ra...
Счаз заказчик, проще с финансами расстаётся. За качество. Для себя rolleyes.gif . (Сказалось вот это вот сочетание остатков кризиса с неожиданной зимой). Та ловля блох, которая ещё недавно считалась неприличной, сейчас уже и не ловля. Когда на коттеджах мидл-класса начинают интересоваться бойлерами послойного нагрева, это уже знаете-ли... ЗДОРОВО. rolleyes.gif
Kult_Ra
И пел Высоцкий как-то раз: Жираф большой, ему видней ohmy.gif
Притык
Нормальная автоматика имеет функцию корректировки датчиков, или просто подымаешь кривую.

Finn2
Наши 5 копеек. После череды экспериментов и сервисной настройки лет 10 назад (абсолютно согласен согласен с этим постом уважаемого Kult_Ra и подобными постами) мы сделали точные выводы для себя:
- стороны света надо при любой возможности соблюдать (влияние солнца на показание датчика до плюс 10С в диапазоне Тн.в. +/-5С);
- влияние здания - абсолютно такое же, диапазон Тн.в. -(5-30), тут как повезет, за ограждающие конструкции строителей трудно заранее отвечать;
- влияние пьяниц и мальчишек (золотое было время!) на целостность приборов весомое - процентов 5 побили;
- влияние бригад отделочников - по объему аналогично предыдущему, столько же датчиков заделали в штукатурку или просто поотрывали во время ремонта;
- влияние дождя и снега - частое, обмерзание после попадания воды и последующей инверсии, занос нечаянным сугробом снега с последующим переходом на другую температуру или разрушение конструкции (при замерзании);
- поэтому никакие корректировки показаний (если они возможны) нормально не помогут, они на конкретное состояние, которое в любой момент может не предугадано измениться. Как и применение датчиков с 3-4 проводным подключением;
- фирменная конструкция слаба (пластик), блескуча (часто светлый), не имеет встроенного слоя теплоизоляции;
- ставить дорого и неудобно - далеко тянуть, нужны неожиданные проходки, наружные работы;
- попытки отложить установку до окончания фасадных дел часто кончаются самыми неожиданными результатами - от "совсем забыли" до "тут работать нельзя".

Поэтому, на своих монтажах (их больше нет, все у подрядчиков) мы делали так:
- сторона, по возможности, правильная;
- место, по возможности, укромное (по балконом, в районе арочного прохода);
- предупреждение всех возможных мастеров - "это наш датчик, стоит очень дорого, поломаете, заделаете, не расплатиться";
- обязательно защитная стальная коробка неказистого вида (нашли специально какую-то коробку от отечественного недорогого электодевайса уличной установки) с тремя вентиляционными прорезями - низ и оба бока и обязательной установкой тефлоновой 3-5 мм прокладки под датчик. Число выездов на ранее указанные проблемы резко уменьшилось.

Это при своем монтаже и наше мнение (около 1000 комплектов ECL и 500-а комплектов ИТП за пятилетку).

Опять же - если монтаж чужой - ссылка в проекте на пункт инструкции, устное разъяснение монтажникам возможных проблем. Поломают или исказят - за оплату поможем (справить слух или соображение - я же ведь Вам говорил...).

Но на самом деле - наружный датчик (по нашему опыту) - самый сложный из датчиков ИТП. Надо сразу понимать, что с определенной вероятностью (5-10%) какое-то горе будет и быть готовым к нему.

Вот, изложил любимую проблему, надеюсь не достал большим количеством текста? (Шутка)
badabum
Ещё проблему надо учесть, бывает что вытяжная вентиляция выбрасывает воздух рядом с датчиком наружного воздуха и погодный контроллер сходит с ума.
Finn2
Это точно. И встроенное кафе какими-нибудь трубами всегда радует. Вообще, пока писал предыдущую фразу, пришла мысль об использовании крыши и вент. проходок для проведения кабеля. Спрошу сегодня мнение у наших сервисных товарищей. Хотя, сейчас не так остро это вопрос стоит, как еще лет 5-10 назад.
Бойко
Несколько, возможно, спорных тезисов....

Очень важна мысль Kult_Ra о соразмеренности быстроты датчика, других параметров окружающей среды и свойств здания.

Уже сравнительно давно, братья Китайцы постарались, метеостанции не очень дорогая экзотика...

Уже сравнительно давно "умный" контроллер не реагирует, а предсказывает /верно в 95% случаев/ параметры окружающей среды. "Знает" на несколько часов вперед порядок использования помещения.

Уже сравнительно давно измеряет/существенно плывущую/ постоянную времени помещения.

Где то промелькнуло о четырехстороннем датчике температуры... толи ОВЕН или МЗТА...

Можно измерять и сигнал пропорциональный потоку тепла через ограждения...

Вывод. Железо стремительно относительно дешевеет.. Современный уровень все больше определяют программы /алгоритмы/...
Поляна алгоритмов /место для измерения животов/ отсутствует... Каждый в тайне катает свой шарик...
HeatServ
Цитата(Бойко @ 3.9.2010, 23:01) *
Уже сравнительно давно "умный" контроллер не реагирует, а предсказывает /верно в 95% случаев/ параметры окружающей среды.

Бойко, Вы же прекрасно понимаете, что это глупость.
Цитата(Бойко @ 3.9.2010, 23:01) *
"Знает" на несколько часов вперед порядок использования помещения.

Эти алгоритмы разработаны лет этак 50 назад, Вы тоже это знаете.
Цитата(Бойко @ 3.9.2010, 23:01) *
Поляна алгоритмов /место для измерения животов/ отсутствует... Каждый в тайне катает свой шарик...

Просто следующая революция будет технократической. С этим надо смириться.
Бойко
Уважаемый HeatServ!
Для меня эти вещи далеко не во всем понятные...

Предсказывать погоду глупость? Достаточно предположить, что днем теплее чем ночью... А если знать когда восход солнца... тогда регулирование по температуре наружного воздуха покажется детской забавой... прибавляя игры с темпом прироста или падения температуры /производной по кривой/... в принципе эти игрушки почти не отличаются от биржевых роботов...

По поводу свойств помещения... алгоритмы м.б. и были только на аналоговых регуляторах с гидравлическими исполнительными механизмами /ГИМ-И/ такие задачи в помещении? rolleyes.gif А ЭВМ занимали этажи...

HeatServ! Нам показывают много алгоритмов, но какими алгоритмами пользуется французкая Dalkia? Железо то одинаковое...
HeatServ
Цитата(Бойко @ 4.9.2010, 0:33) *
Уважаемый HeatServ!
Предсказывать погоду глупость?

Абсолютная.
Цитата(Бойко @ 4.9.2010, 0:33) *
но какими алгоритмами пользуется французкая Dalkia? Железо то одинаковое...

Деньги сумасшедшие выбрасываются на погоду, безусловно. Только китайцы... Но они молодцы, они скоро всему миру покажут Сеульскую мать, с вожделением жду, когда автомобиль станет доступен, особенно ждыпарь.

Бойко, блин, я озадачен...
HeatServ
Цитата(HeatServ @ 4.9.2010, 0:42) *
Абсолютная.

Ув. Бойко, надеюсь Вы поняли, что я не считаю, что предсказание погоды как таковое считаю ахинеей, сие касается лишь частного случая - приведённого Вами примера применения контроллера в качестве локального мини-предсказателя. Теплоаккумулирующая способность здания способна сгладить любую ныне известную неравномерность температурной агрессии во времени, в случае противном - это уже не здание.
Ernestas
Цитата(HeatServ @ 4.9.2010, 21:05) *
Теплоаккумулирующая способность здания способна сгладить любую ныне известную неравномерность температурной агрессии во времени

красиво сказано )
Бойко
Цитата(HeatServ @ 4.9.2010, 22:05) *
Ув. Бойко, надеюсь Вы поняли, что я не считаю, что предсказание погоды как таковое считаю ахинеей, сие касается лишь частного случая - приведённого Вами примера применения контроллера в качестве локального мини-предсказателя. Теплоаккумулирующая способность здания способна сгладить любую ныне известную неравномерность температурной агрессии во времени, в случае противном - это уже не здание.


Уважаемый HeatServ!

"Теплоаккумулирующая способность здания способна сгладить любую..." ключевое слово сгладить... колебание температуры внутреннего воздуха, но не устранить перетоп... Ровно поэтому /существенной и разной постоянной времени/ хорошо знать=предполагать изменения потока тепловой энергии... это позволяет избегать "перетопа"

Нажмите для просмотра прикрепленного файла
Бойко
Картинка показывает условие компенсации системой СО изменений потока "с улицы" и внутренних /бытовых/ тепловыделений.. Твн.в=const. Т.е. Qот=min.
HeatServ
Цитата(Бойко @ 7.9.2010, 8:48) *
Уважаемый HeatServ!

"Теплоаккумулирующая способность здания способна сгладить любую..." ключевое слово сгладить... колебание температуры внутреннего воздуха, но не устранить перетоп... Ровно поэтому /существенной и разной постоянной времени/ хорошо знать=предполагать изменения потока тепловой энергии... это позволяет избегать "перетопа"

Нажмите для просмотра прикрепленного файла

Качество оттачмента предполагает, что лучше красочно, нежели информативно?
Мы два года ставим автоматику и сразу берём на сервисное. Нигде не зафиксирован перетоп за всё время наблюдения. Просто нет его. Пропал.
Зачем сюда предсказатели погоды - не приложу ума.
Бойко
Цитата(HeatServ @ 7.9.2010, 23:48) *
Качество оттачмента предполагает, что лучше красочно, нежели информативно?
Мы два года ставим автоматику и сразу берём на сервисное. Нигде не зафиксирован перетоп за всё время наблюдения. Просто нет его. Пропал.
Зачем сюда предсказатели погоды - не приложу ума.


А я Вас уже год, точно, прошу /настойчиво/ поставить пару, тройку датчиков внутреннего воздуха..... и пописать пару месяцев... есть он .. или перетоп или недотоп... всегда в наличии... точность/качество регулирования..... его повышение - резерв экономии...
HeatServ
Цитата(Бойко @ 8.9.2010, 0:25) *
А я Вас уже год, точно, прошу /настойчиво/ поставить пару, тройку датчиков внутреннего воздуха..... и пописать пару месяцев... есть он .. или перетоп или недотоп... всегда в наличии... точность/качество регулирования..... его повышение - резерв экономии...

Будет время - будет пища, Бойко. Давно мечатаю об этом, датчиков пока нет, нет средств. Но я уверен, что (при нашей-то инсоляции) правильно сбалансированная система - гораздо важнее, нежели предсказатели погоды. Кстати, ждите мою статью о балансировке систем отопления на конкурсе АВОКа, думаю, что Вам будет интересно.
Бойко
Цитата(HeatServ @ 8.9.2010, 0:56) *
Будет время - будет пища, Бойко. Давно мечатаю об этом, датчиков пока нет, нет средств. Но я уверен, что (при нашей-то инсоляции) правильно сбалансированная система - гораздо важнее, нежели предсказатели погоды. Кстати, ждите мою статью о балансировке систем отопления на конкурсе АВОКа, думаю, что Вам будет интересно.

Я думаю у Вас по городу "брошенных" датчиков с пршлых "программ эгергосбережения" сотни ржавеют.... Да и стоит он 600 руб.

А "предсказатель" это программа-мысль, а мысль, в отличие от железа, размножается бесплатно !

Статью ждем! Удачи! Будем "болеть"!
limite
закрепите на стене через кусочек пенопласта+козырек(коробочка вокруг)
самое важное это на северной стороне
daikinA1
Цитата(alsem @ 23.2.2010, 22:34) *
Ведь разница между температурой атмосферы и температурой "прилегающего" воздуха, может быть существенной?

huh.gif Надо понять. А то - бессонница гарантирована. blink.gif


Лучше его теплоизолировать немного от здания, т.е. на 10 см вынести, и что сторона не солнечная была и будет вам хороший сон ))
Рыбы
Степень инерции системы отопления здания в 99% покрывает все Ваши изыскания в точности измерений.Кроме того многие контроллеры работают по усреднённой температуре воздуха (например ТАС или как он теперь Шнейдер-Электрик - от 0 до 6часов ). Все приводы для отопления-также медленные по времени срабатывания.
Вывод: cторона, где нет солнца(C-З), высота более 2,5-3м от земли и антивандальная коробка из металла.
altsem
Опять с этим делом столкнулся. (один заказчик "столкнул")
Отвёл датчик от стены на 5см. Датчик как бы повис в воздухе. Но рядом со стеной. Датчик до того завышал на 2-3 градуса. Теперь, при лёгком обветривании, не завышает. Но в штиль, плавно уходит на завышение 0,5 гр. Что меня устроило полностью.
Это при наружных температурах от -5 до +3.
В общем. Пришёл к тому, что надо его ставить с воздушным зазором 5 см. Так то последние десять лет просто прикручивал к стене. Теперь понял, что был неправ mellow.gif

Всем спасибо за обсуждение и изложенные опытные мнения
cpt
А стена простая многослойная (однослойная) или с вентфасадом?
altsem
Кирпич силикат 0.6 метра толщины.

Понял так, что именно при нынешних околонулевых температурах такая установка наиболее подходящая. Дальше, посмотрим, когда температуры пойдут снижаться.
cpt
Да тут не определить влияет тепло от дома или нагрев солнцем. Интересно сравнить было бы еще с вентфасадом.
altsem
Вентфасада под рукой пока нет. Увы.
cpt
Мне это предстоит скоро тоже вот думаю выбрал северо-восточный фасад на металлическую подшивку карниза от вентфасада получается есть зазор сантиметров в 50 плюс еще между карнизом и вентфасадом есть зазор. теоретически в зазор между вентфасадом и карнизом уйдет теплый воздух от нагрева фасада.
altsem
Вот это и смущает, что за лицевой панелью вентфасада всегда есть движение тёплого воздуха. Наверное от облицовки вентфасада тоже надо немного отступать.
Kotlovoy
Цитата(altsem @ 3.12.2020, 13:08) *
Датчик до того завышал на 2-3 градуса. Теперь, при лёгком обветривании, не завышает. Но в штиль, плавно уходит на завышение 0,5 гр.

А что эталоном является, да ещё с такой точностью? Росгидромет?
altsem
Два спиртовых термометра на дереве, отстоящем от стены примерно на 2 метра. 0.5 градуса визуально на них определяется. Два, чтобы видеть, что не врут
Kotlovoy
Понятие "температура воздуха" нуждается в некоторых пояснениях. В первую очередь речь идет о температуре воздуха у земной поверхности, под которой понимается температура, измеренная в метеорологической будке, причем резервуары термометров помещаются на высоте 2 м над поверхностью почвы. Только при специальных исследованиях состояния приземного слоя воздуха термометры помещаются на различных уровнях - более низких и более высоких. На судах термометры также могут помещаться на других уровнях.
Будка нужна для защиты термометра от прямой солнечной радиации, а также от эффективного излучения земной поверхности и окружающих предметов (зданий, деревьев).

altsem
Вы про обустройство метеостанций?
А к чему это привели?
Kotlovoy
К тому, что сам нередко сталкиваюсь с подобной проблемой, вплоть до того, что в начале марта при отрицательных температурах солнечным днём отключается отопление. Например, пристроенная к гигантскому складскому комплексу котельная с южной стороны. И как решать проблему, ничего не приходит в голову. Даже просто замер реальной температуры воздуха в этих условиях затруднителен, если вокруг всё заасфальтировано и некуда забраться повыше. Хоть метеостанцию строй действительно.
А заказчик глянет в яндексе погоду и давай права качать. Хоть действительно из интернета температуру вытаскивай по модбасу.
altsem
Приходилось поработать не метеостанции. Все эти будки на высоте 2.0, поверхностные и глубинные почвенные термометры, датчики облаков, здания сейсмического датчика (Да да. Для одного датчика отдельное здание, под которым скважина 2км), и прочее.. Всё это из другой оперы.
tiptop
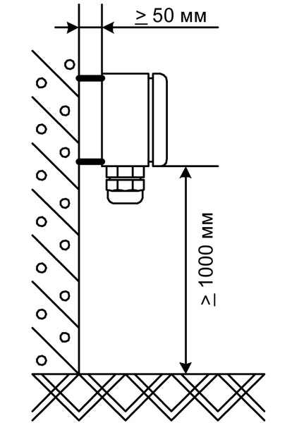
Цитата(altsem @ 3.12.2020, 13:08) *
Пришёл к тому, что надо его ставить с воздушным зазором 5 см.

Можно и с теплоизоляцией какой-нибудь.

Нажмите для просмотра прикрепленного файла

altsem
Согласен.
Но в этот раз просто поставил на кронштейне.

А откуда картинка?
Дело в том, что именно к дистанции 5см пришёл.
Чья картинка, если не секрет?
Для просмотра полной версии этой страницы, пожалуйста, пройдите по ссылке.
Форум IP.Board © 2001-2026 IPS, Inc.